Запчасти Case IH 7700 (A12[04]) - AIR CONDITIONER COMPRESSOR/MOUNT/BELT {6CT} Mainframe & Functioning Components

Схема запчастей Case IH 7700 - (A12[04]) - AIR CONDITIONER COMPRESSOR/MOUNT/BELT {6CT} Mainframe & Functioning Components
4
6
10
7
12
14
9
13
17
7
5
11
16
18
14
1
7
15
3
2
8
FIT
1:1
100%

Артикул

Название

Примечание

Количество

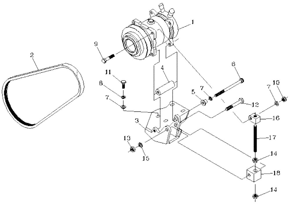
1

00181083

AIRCOND. COMPRESSOR

1шт.

2

00154223

BELT

V

1шт.

3

87229625

MOUNTING PARTS

1шт.

4

87235497

BUSHING,10.3mm ID x 25.4mm OD x 83.3mm L

SPACER

1шт.

5

87235498

SPACER

1шт.

6

FC110140

SCREW,M10 x 1.5 x 140mm

1шт.

7

WA100000

WASHER

6шт.

8

WB100000

WASHER

4шт.

9

FA110050

BOLT

1шт.

10

NC110000

NUT

1шт.

11

FA110020

BOLT

4шт.

12

FA112080

BOLT

1шт.

13

NA112000

NUT

1шт.

14

NA116000

NUT

2шт.

15

WB120000

WASHER

1шт.

16

87237014

ROD,M16 x 2 x 150mm

BOLT

1шт.

17

87242640

LUG

LUG

1шт.

18

87237016

BLOCK

1шт.

Выбрано товаров: 18