Запчасти Case IH 7700 (C06[02]) - GEARBOX {6CT} Engine & Engine Attachments

Схема запчастей Case IH 7700 - (C06[02]) - GEARBOX {6CT} Engine & Engine Attachments
26
16
30
5
11
23
29
8
24
27
5
7
17
10
12
10
3
3
5
1
32
9
6
25
2
7
5
20
19
5
11
15
18
13
5
14
31
22
28
4
3
21
5
FIT
1:1
100%

Артикул

Название

Примечание

Количество

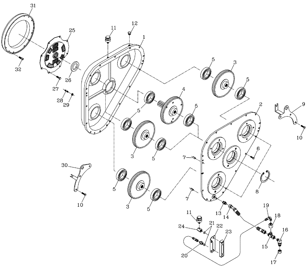
1

87237513

GEARBOX

1шт.

2

87256450

COVER

COVER

1шт.

3

87232772

DRIVEN GEAR

65 Tooth

3шт.

4

87232771

DRIVING GEAR

76 Tooth

1шт.

5

00140224

BALL BEARING

8шт.

6

00601501

BOLT

9шт.

7

00605682

PIN

Dowel

3шт.

8

CI110000

CIRCLIP

4шт.

9

87256455

LUG

Cable Anchor, Rear

1шт.

10

00606790

BOLT

BOLT

3шт.

11

00407924

FILLER CAP

Breather

2шт.

12

00400106

HYD CONNECTOR

Plug

1шт.

13

00400226

HYD CONNECTOR

Nipple

1шт.

14

395718A1

HOSE

1шт.

15

00404679

TEE

1шт.

16

00409554

HYD CONNECTOR

Elbow

1шт.

17

00400144

HYD CONNECTOR

Cap

1шт.

18

00404798

HYD CONNECTOR

Adaptor

1шт.

19

82704900

HOSE,6.35mm ID x 530mm L, SAE 100R17

1шт.

20

87242103

ADAPTER,9/16" - 18

1шт.

21

00100010

O-RING

2шт.

22

443002A1

MOUNTING PARTS

MOUNT

1шт.

23

00101646

LEVEL GAUGE CONTROL

1шт.

24

87243672

ADAPTER,M12 x 1.75

1шт.

25

00180520

DRIVE PLATE

1шт.

26

00100791

OIL SEAL

1шт.

27

FC110020

SCREW,M10 x 1.5 x 20mm

Bolt

8шт.

28

87241858

STUD

12шт.

29

00605796

NUT

12шт.

30

87256454

LUG

Cable Anchor, Front

1шт.

31

394076A1

ADAPTER

1шт.

32

412138A1

SCREW,7/16" x 32mm

SCREW

4шт.

33

87256514

GEARBOX ASSY

GEARBOX ASSEMBLY

1шт.

34

87411333

DRIVE ASSY.

DRIVE ASSEMBLY

1шт.

Выбрано товаров: 34