Запчасти Case IH 7700 (B02[09]) - HYDRAULIC CYLINDER {Basecutter Lift 7000} Hydraulic Components & Circuits

Схема запчастей Case IH 7700 - (B02[09]) - HYDRAULIC CYLINDER {Basecutter Lift 7000} Hydraulic Components & Circuits
16
17
12
22
19
14
5
3
8
7
15
1
10
13
9
6
2
20
4
21
11
5
18
FIT
1:1
100%

Артикул

Название

Примечание

Количество

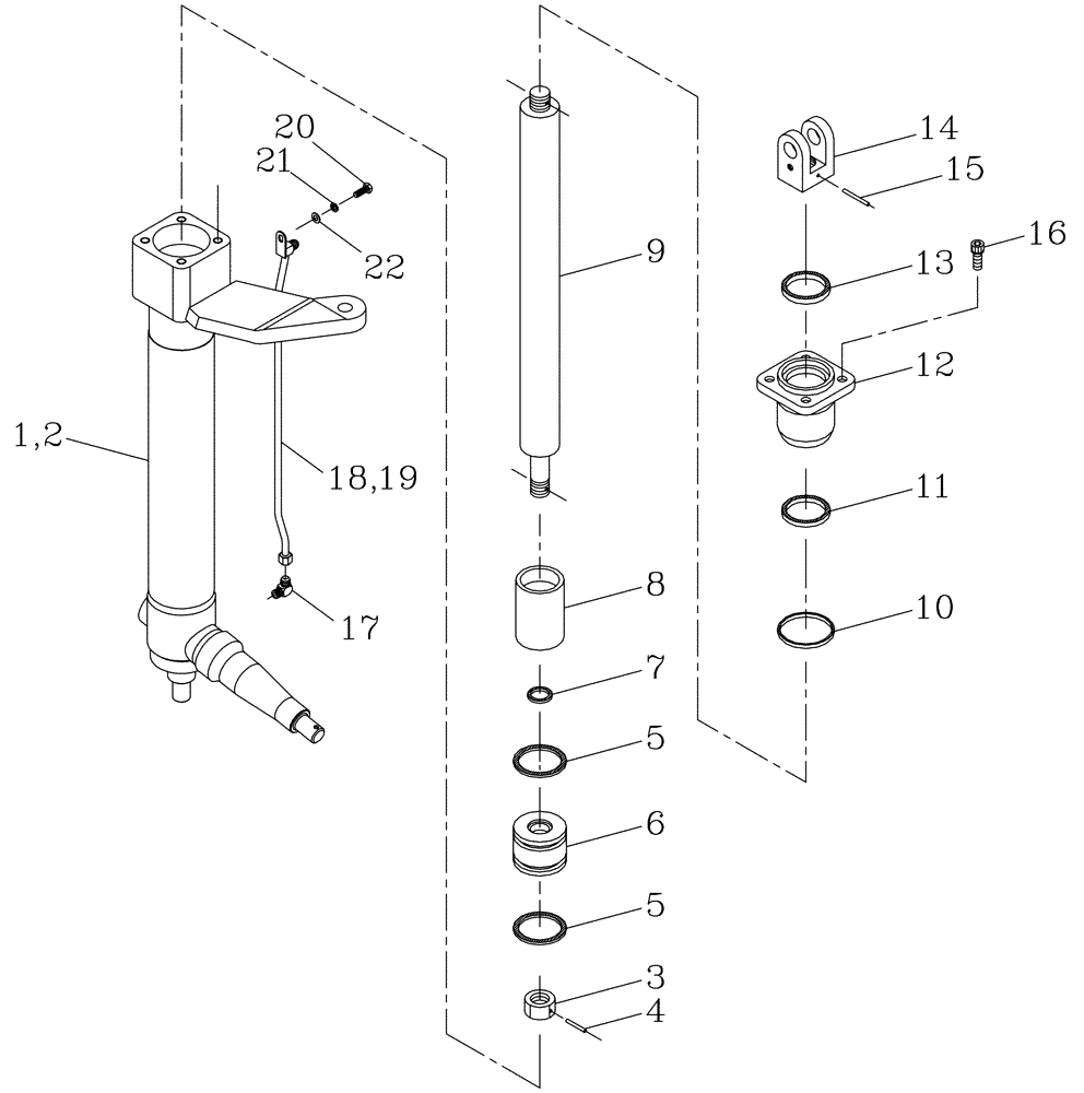
1

448447A1

CYLINDER

Barrel [LH]

1шт.

2

448448A1

CYLINDER

Barrel [RH]

1шт.

3

00606613

NUT

1шт.

4

00608214

PIN

Split

1шт.

5

00100710

WIPER SEAL

2шт.

6

86742100

CYLINDER,76.08mm Bore, 26.44mm Rod, 60mm W

PISTON

1шт.

7

00100019

O-RING

1шт.

8

86854200

SPACER,57.35mm ID x 69.85mm OD x 100mm L

1шт.

9

86854500

SHAFT,57.15mm OD x 710mm L

1шт.

10

00100112

O-RING

1шт.

11

00100718

OIL SEAL

1шт.

12

87213959

WELDED END

1шт.

13

00100719

SEAL

1шт.

14

86786800

CLEVIS

1шт.

15

00606412

PIN

PIN

1шт.

16

FC112035

SCREW,M12 x 1.75 x 35mm

4шт.

17

00400188

HYD CONNECTOR

Elbow

1шт.

18

87251287

TUBE,9.50 mm OD x 541 mm L

LH

1шт.

19

87251288

TUBE,9.50 mm OD x 541 mm L

RH

1шт.

20

FA110020

BOLT

1шт.

21

WB100000

WASHER

1шт.

22

WA100000

WASHER

1шт.

23

87214368

SEAL KIT

1шт.

24

448443A1

STEERING CYLINDER,26.4mm Rod, 368.4mm Stroke

Cylinder Assy. [LH]

1шт.

25

448444A1

CYLINDER

Cylinder Assy. [RH]

1шт.

Выбрано товаров: 25