Качественные детали и логистика
Оригинальные и аналоговые запчасти с доставкой по России, Казахстану и Беларуси
©2022 PartSell ООО "Система" ИНН 2463123282 ОГРН 1212400004838
Центральный офис: г. Красноярск, Академика Киренского, д.87, пом.4
Телефон: 8 (800) 777-65-74 Email: zakaz@partsell.ru
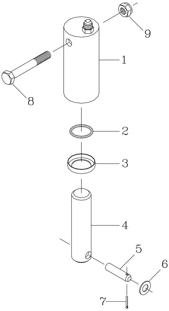
(B02[11]) - HYDRAULIC CYLINDER {Height Indicator 7000}
№
Артикул
Название
Примечание
Количество
1
87024400
CYLINDER
1шт.
2
00100023
O-RING
3
00100675
SEAL
4
83156102
INDICATOR,31.75mm OD x 128mm L
5
86981600
PIN,12mm OD x 49mm L
PIN
6
WA120000
WASHER
2шт.
7
SA025020
COTTER PIN
8
FA112090
BOLT
9
NC112000
NUT
10
87214847
HYDRAULIC CYLINDER,31.75mm Rod, 80mm Stroke
Excludes Items 5-9
Выбрано товаров: 0