Качественные детали и логистика
Оригинальные и аналоговые запчасти с доставкой по России, Казахстану и Беларуси
©2022 PartSell ООО "Система" ИНН 2463123282 ОГРН 1212400004838
Центральный офис: г. Красноярск, Академика Киренского, д.87, пом.4
Телефон: 8 (800) 777-65-74 Email: zakaz@partsell.ru
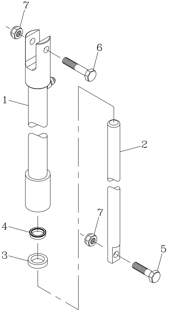
(B02[12]) - HYDRAULIC CYLINDER {Height Indicator 7700}
№
Артикул
Название
Примечание
Количество
1
450593A1
CYLINDER,34mm Bore Dia
BARREL
1шт.
2
450594A1
CYLINDER,22.23mm OD x 375mm L
ROD
3
00100552
OIL SEAL
4
00100759
5
FA112045
BOLT
6
FA112060
7
NC112000
NUT
2шт.
8
450592A1
CYLINDER,22.23mm Rod
Выбрано товаров: 0