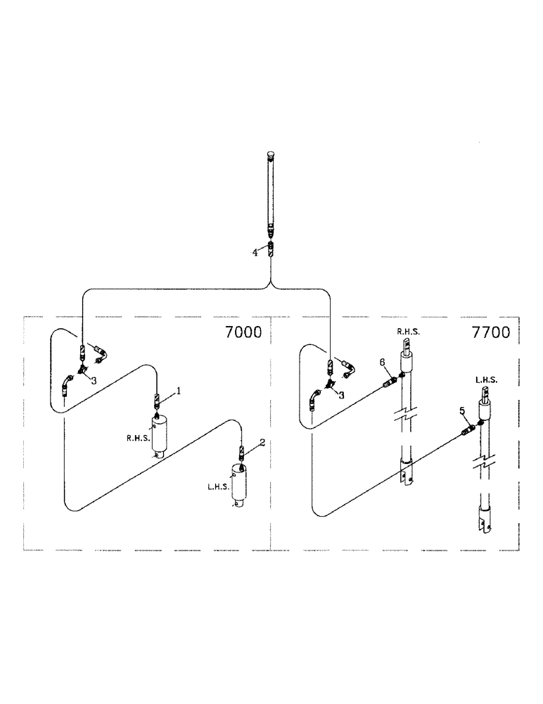
Запчасти Case IH 7700 (B06-36) - HYDRAULIC CIRCUIT, HEIGHT INDICATOR Hydraulic Components & Circuits

Схема запчастей Case IH 7700 - (B06-36) - HYDRAULIC CIRCUIT, HEIGHT INDICATOR Hydraulic Components & Circuits
3
5
3
2
6
4
1
FIT
1:1
100%

Артикул

Название

Примечание

Количество

1

87252221

HOSE

1шт.

7000

1шт.

1

87216364

HOSE

[Hi Lift]

1шт.

7000

1шт.

2

87234644

HOSE ASSY.

HOSE

1шт.

7000

1шт.

2

82743300

HOSE [Hi Lift]

1шт.

7000

1шт.

3

00400207

TEE

1шт.

4

81677900

HOSE ASSY.,6.35 mm ID x 760.00 mm, SAE 100R17

HOSE, 6.35 mm ID x 760.00 mm, SAE 100R17

1шт.

5

87224512

HYDRAULIC HOSE

1шт.

7700

1шт.

6

87252222

HOSE

1шт.

7700

1шт.

Выбрано товаров: 14