Качественные детали и логистика
Оригинальные и аналоговые запчасти с доставкой по России, Казахстану и Беларуси
©2022 PartSell ООО "Система" ИНН 2463123282 ОГРН 1212400004838
Центральный офис: г. Красноярск, Академика Киренского, д.87, пом.4
Телефон: 8 (800) 777-65-74 Email: zakaz@partsell.ru
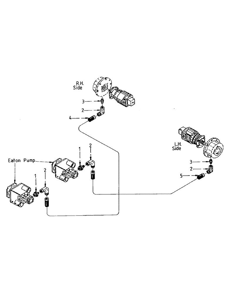
(B05-95) - HYDRAULICS, CIRCUIT, FAIL SAFE BRAKES 7700
№
Артикул
Название
Примечание
Количество
1
00400074
HYD CONNECTOR
NIPPLE
2шт.
2
00402879
ELBOW
4шт.
3
00402235
4
87223888
HOSE
1шт.
5
87223890
Выбрано товаров: 0