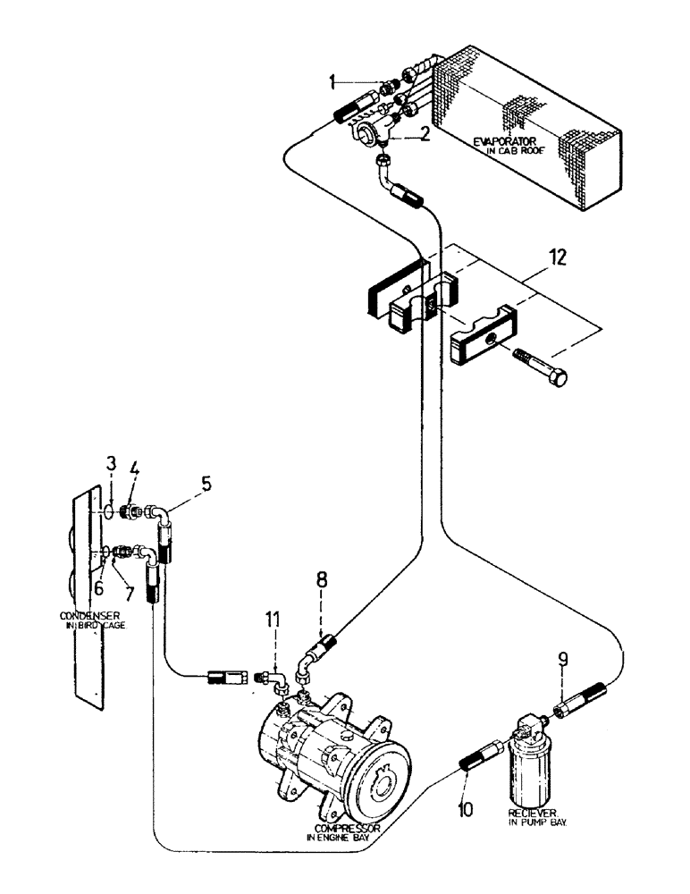
Запчасти Case IH 7700 (B05-98) - HYDRAULICS, CIRCUIT, AIR CONDITIONER Hydraulic Components & Circuits

Схема запчастей Case IH 7700 - (B05-98) - HYDRAULICS, CIRCUIT, AIR CONDITIONER Hydraulic Components & Circuits
4
10
11
8
12
6
9
2
7
1
3
5
FIT
1:1
100%

Артикул

Название

Примечание

Количество

1

00404567

ADAPTER

NIPPLE

1шт.

2

00137293

AIR CONDITIONER

VALVE

1шт.

3

00405007

ASSEMBLY

O-RING

1шт.

4

00405005

ADAPTER

ADAPTOR

1шт.

5

87214288

HOSE

1шт.

6

00405006

O-RING

1шт.

7

00405004

ADAPTER

ADAPTOR

1шт.

8

87213898

HOSE

1шт.

9

87214654

HOSE

1шт.

10

87214266

HOSE

1шт.

11

00404332

ELBOW

1шт.

12

00407737

ASSEMBLY

CLAMP

2шт.

Выбрано товаров: 12