Запчасти Case IH 7700 (A02-01) - MAINFRAME, TOPPER Mainframe & Functioning Components

Схема запчастей Case IH 7700 - (A02-01) - MAINFRAME, TOPPER Mainframe & Functioning Components
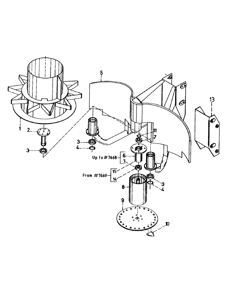
1
3
4
7
13
8
15
3
10
3
11
14
6
2
9
7
5
4
FIT
1:1
100%

Артикул

Название

Примечание

Количество

1

87220421

DRUM

2шт.

2

86405400

SHAFT

SPIGOT

2шт.

2

00605827

WASHER

WSHER

12шт.

2

00601499

BOLT

12шт.

3

00144079

BALL BEARING

BEARING

4шт.

4

CE050000

CIRCLIP

2шт.

5

87054200

FRAME ASSY

FRAME

1шт.

6

86620900

BEARING HOUSING

HOUSING

1шт.

6

00605810

WASHER

4шт.

6

00604535

SCREW

6шт.

7

00144080

BALL BEARING

BEARING

2шт.

8

87220349

DRUM

1шт.

9

87054700

DISC

1шт.

9

00605827

WASHER

6шт.

9

00601499

BOLT

6шт.

10

00605998

LOCK NUT

NUT

16шт.

10

87213869

BLADE

8шт.

10

00605373

SCREW

16шт.

11

CE040000

CIRCLIP

1шт.

12

87219419

ASSEMBLY

(Complete including motor and hoses)

1шт.

13

87227376

ADAPTER

ADAPTOR (Raised) (Optional)

1шт.

13

00607923

BOLT

4шт.

13

00606006

LOCK NUT

NUT

4шт.

14

00144124

BALL BEARING

BEARING

1шт.

15

87229324

BEARING HOUSING,80 mm ID x 155 mm

HOUSING

1шт.

Выбрано товаров: 25