Запчасти Case IH 7700 (C06-32) - ENGINE, WATER SEPARATOR/FUEL LINES Engine & Engine Attachments

Схема запчастей Case IH 7700 - (C06-32) - ENGINE, WATER SEPARATOR/FUEL LINES Engine & Engine Attachments
6
9
15
2
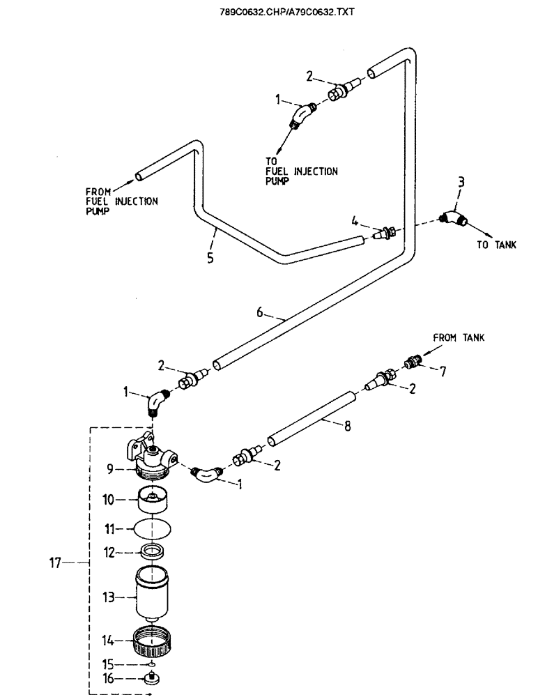
1
1
1
2
3
4
17
16
8
5
7
2
11
14
13
10
12
2
FIT
1:1
100%

Артикул

Название

Примечание

Количество

1

00400191

ELBOW

(90 degrees)

3шт.

2

00405199

HOSE END

4шт.

3

00407247

ELBOW

(45 degrees)

1шт.

4

00405195

HOSE END

1шт.

5

87227175

HOSE

1шт.

6

87227173

HOSE

1шт.

7

00400165

HYD CONNECTOR

NIPPLE

1шт.

8

87220568

HOSE

1шт.

9

00138232

COVER

1шт.

10

00138235

BAFFLE

1шт.

11

00137920

O-RING

1шт.

12

00138236

RING

1шт.

13

00138233

CASE

1шт.

14

00138234

NUT

1шт.

15

00138238

O-RING

1шт.

16

00138237

PLUG

1шт.

17

00137032

FUEL FILTER

WATER SEP'TOR ASSEMBLY

1шт.

Выбрано товаров: 17