Запчасти Case IH 7700 (B03-40) - HYDRAULIC PUMP, (6CT/L10 CHOPPER AND SECONDARY FIXED Hydraulic Components & Circuits

Схема запчастей Case IH 7700 - (B03-40) - HYDRAULIC PUMP, (6CT/L10 CHOPPER AND SECONDARY FIXED Hydraulic Components & Circuits
11
10
17
6
6
8
4
12
18
9
7
8
6
11
19
13
1
8
20
3
7
8
6
7
11
10
10
7
10
14
2
15
16
11
FIT
1:1
100%

Артикул

Название

Примечание

Количество

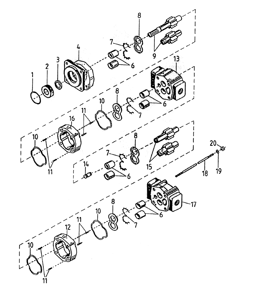
1

00400629

RING

snap

1шт.

2

00408709

BALL BEARING

1шт.

3

00400631

SEAL

1шт.

4

00408705

COVER

END COVER

1шт.

6

00407034

BUSHING

8шт.

7

00407036

SEAL KIT

4шт.

8

00407033

THRUST PLATE

4шт.

9

00408689

SHAFT

GEAR SET

1шт.

10

00407038

SEAL

GASKET

4шт.

11

00407701

DOWEL

PIN

16шт.

12

00408706

TRANSMISSION HOUSING

1шт.

13

00408710

CARRIER

1шт.

14

00407693

SHAFT

1шт.

15

00408702

GEAR

SET

1шт.

16

00408708

HOUSING

HOUSING

1шт.

17

00408711

COVER

END COVER

1шт.

18

00400602

STUD

4шт.

19

00400531

WASHER

4шт.

20

00400532

NUT

4шт.

21

00408713

SEAL KIT

1шт.

22

00408446

HYDRAULIC PUMP

ASSEMBLY

1шт.

Выбрано товаров: 21