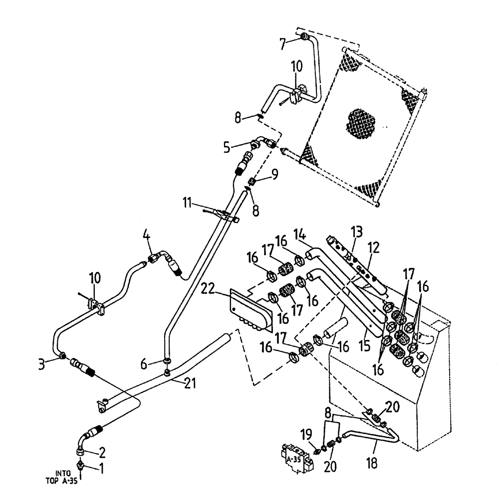
Запчасти Case IH 7700 (B05-15A) - HYDRAULIC SUCTION LINES (L10), SERIAL #7908 AND ONWARDS Hydraulic Components & Circuits

Схема запчастей Case IH 7700 - (B05-15A) - HYDRAULIC SUCTION LINES (L10), SERIAL #7908 AND ONWARDS Hydraulic Components & Circuits
16
16
10
16
10
11
9
17
17
20
16
2
8
16
1
14
20
5
17
6
15
4
22
18
8
7
19
17
16
12
13
3
8
21
16
16
FIT
1:1
100%

Артикул

Название

Примечание

Количество

1

00400237

HYD CONNECTOR

NIPPLE

1шт.

2

87224408

HOSE

1шт.

3

87234112

TUBE

1шт.

4

87235689

HOSE

1шт.

5

00408451

HYD CONNECTOR

ELBOW

1шт.

6

87234114

TUBE,1720 mm L

1шт.

7

87234118

TUBE

1шт.

8

00408684

HOSE CLAMP

12шт.

9

87227201

HOSE,38.10 mm ID x 240.00 mm

1шт.

10

00408313

CLAMP

3шт.

11

00408289

ASSEMBLY

CLAMP

1шт.

12

87231730

VENT MANIFOLD

1шт.

13

HYDRAULIC RELIEF VALVE (Refer Figure B04-70)

1шт.

14

87157000

TUBE

1шт.

15

86766001

TUBE

TUBE

1шт.

16

00135785

HOSE CLAMP

12шт.

17

86475800

HOSE,76.20 mm ID x 150.00 mm

6шт.

18

87235280

TUBE,38.10 mm OD

1шт.

19

00408396

ADAPTER

HOSETAIL

1шт.

20

86312272

HOSE,38.10 mm ID x 110.00 mm

2шт.

21

87235203

VENT MANIFOLD

1шт.

22

87234729

TANK (commercial)

1шт.

22

87227229

TANK, HYDRAULIC OIL

(hagglunds)

1шт.

Выбрано товаров: 0