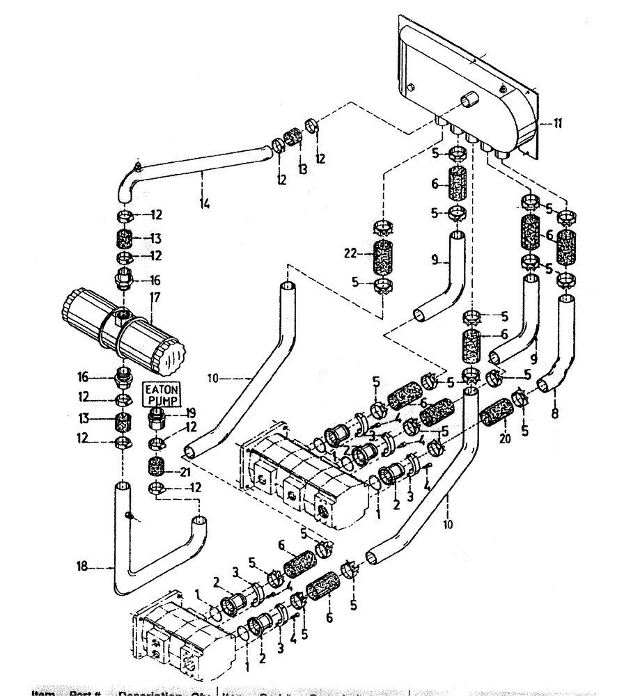
Запчасти Case IH 7700 (B05-25) - HYDRAULIC SUCTION LINES (STANDARD TRANSMISSION), (L10 Hydraulic Components & Circuits

Схема запчастей Case IH 7700 - (B05-25) - HYDRAULIC SUCTION LINES (STANDARD TRANSMISSION), (L10 Hydraulic Components & Circuits
6
13
5
5
16
5
2
4
2
4
12
4
2
5
1
16
5
20
17
14
5
22
3
5
12
10
12
12
13
18
6
4
1
11
6
12
5
3
3
12
5
9
8
10
3
4
21
5
5
2
5
5
1
5
1
6
13
9
12
19
5
6
2
6
FIT
1:1
100%

Артикул

Название

Примечание

Количество

1

00100106

O-RING

5шт.

2

87219650

HYD CONNECTOR

ADAPTOR

5шт.

3

00400267

SPECIAL CLAMP

5шт.

4

00604534

SCREW

20шт.

5

00180541

HOSE CLAMP

20шт.

6

82204300

HOSE,50.8mm ID x 102mm L

8шт.

8

87232821

TUBE

1шт.

9

87232820

TUBE,2" DIA

2шт.

10

87232819

TUBE,50.80 mm OD

2шт.

11

87215639

VENT MANIFOLD

TANK

1шт.

11

00400143

HYD CONNECTOR

CAP NUT

1шт.

12

00152128

HOSE CLAMP

8шт.

13

83123200

HOSE

3шт.

14

87134700

TUBE

TUBE

1шт.

14

00400143

HYD CONNECTOR

CAP NUT

1шт.

16

00402123

HYD CONNECTOR

HOSETAIL

2шт.

17

SUCTION FILTER (Refer Figure B08-00)

1шт.

18

87233634

TUBE

1шт.

18

00400143

HYD CONNECTOR

CAP NUT

1шт.

19

00408396

ADAPTER

HOSETAIL

1шт.

20

87219083

MANIFOLD

1шт.

21

82217600

HOSE,38.10 mm ID x 80.00 mm

1шт.

22

86315149

HOSE,140.00 mm

1шт.

Выбрано товаров: 0