Запчасти Case IH 7700 (B07-30) - CIRCUIT (CABIN HEATER) Hydraulic Components & Circuits

Схема запчастей Case IH 7700 - (B07-30) - CIRCUIT (CABIN HEATER) Hydraulic Components & Circuits
3
12
3
2
3
13
1
7
2
2
3
2
2
2
8
12
2
4
2
10
8
2
3
5
2
3
2
12
3
6
12
3
11
14
9
FIT
1:1
100%

Артикул

Название

Примечание

Количество

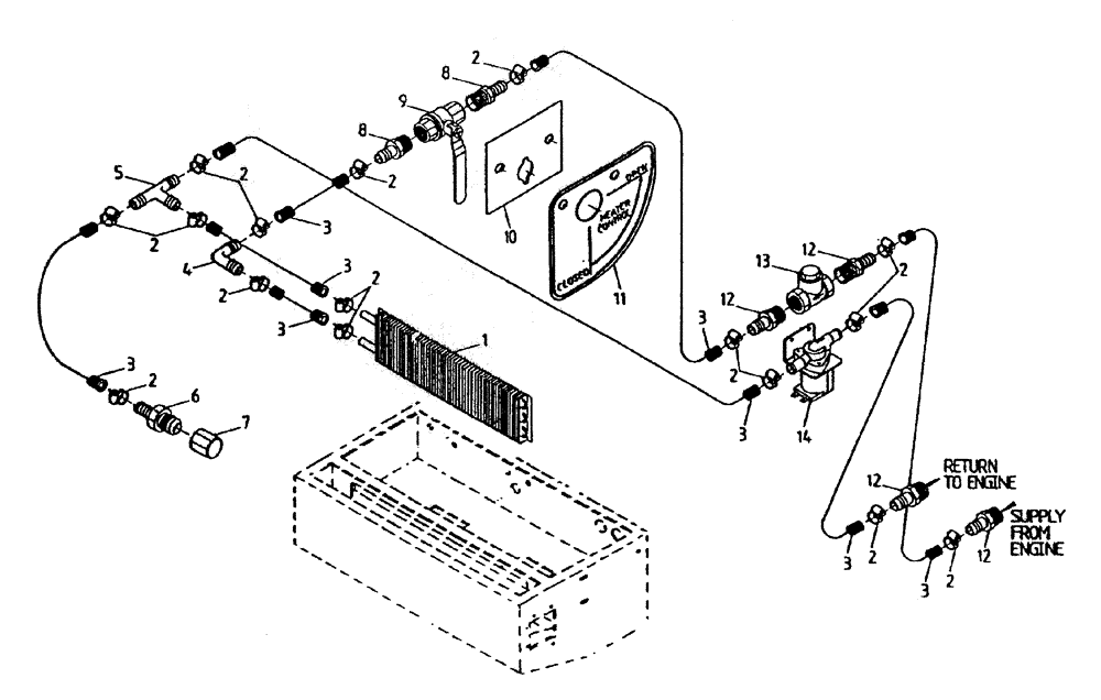
1

00180717

COIL

1шт.

2

00139959

HOSE CLAMP

16шт.

3

00180720

HOSE

1шт.

4

00180928

ELBOW

1шт.

5

00180929

TEE

1шт.

6

00408571

END FITTING

HOSE END

1шт.

7

00400144

HYD CONNECTOR

CAP

1шт.

8

00408570

END FITTING

HOSE END

2шт.

9

00180721

PUMP, HYDROSTATIC

HYDROSTATIC PUMP BALL VALVE

1шт.

10

87234335

BACK PLATE

1шт.

11

87234334

DECAL

DECAL

1шт.

12

00408569

END ASSY.

hose

4шт.

13

00180722

VALVE

check

1шт.

14

00180719

VALVE

solenoid

1шт.

Выбрано товаров: 0