Запчасти Case IH 7700 (A03-05) - VERTICAL ARM EXTRACTOR FAN, UP TO AND INCLUDING SERIAL #7907 Mainframe & Functioning Components

Схема запчастей Case IH 7700 - (A03-05) - VERTICAL ARM EXTRACTOR FAN, UP TO AND INCLUDING SERIAL #7907 Mainframe & Functioning Components
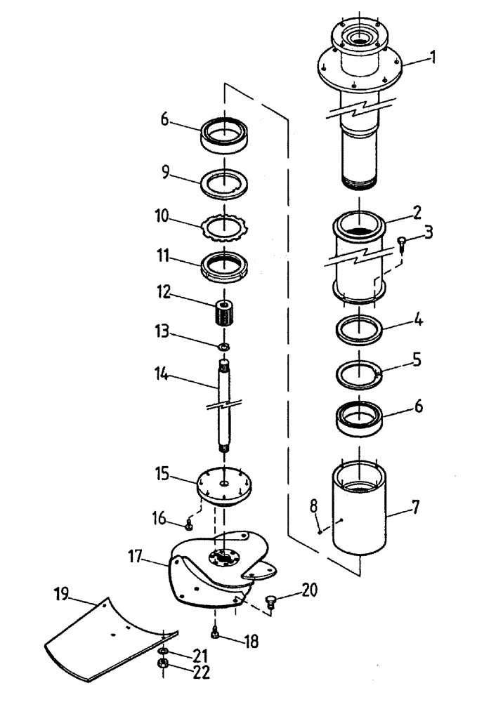
1
22
5
14
15
4
18
8
7
2
17
20
6
21
9
16
13
19
12
6
11
10
3
FIT
1:1
100%

Артикул

Название

Примечание

Количество

1

87230162

MOUNTING PARTS

1шт.

2

87230230

ASSEMBLY

SLEEVE

1шт.

3

FC108020

SCREW,M8 x 1.25 x 20mm

4шт.

4

00100770

OIL SEAL

1шт.

5

CI140000

CIRCLIP

1шт.

6

00146532

BEARING

2шт.

7

87230229

BEARING HOUSING,124 mm ID x 170 mm OD x 235 mm

1шт.

8

FE108012

SCREW,M8 x 1.25 x 12mm

1шт.

9

00146630

ASSEMBLY

WASHER

1шт.

10

00146523

WASHER

tab

1шт.

11

00146524

LOCK NUT

1шт.

12

87232884

SPLINED COUPLING,14T Internal / 16T External

1шт.

13

CI028000

CIRCLIP

1шт.

14

87230156

DRIVE SHAFT

1шт.

15

87230160

FLANGE COVER CAP

end

1шт.

16

FM108030

BOLT

8шт.

17

87230237

ASSEMBLY

HUB

1шт.

18

FM110025

BOLT

6шт.

19

87231808

BLADE

SET

1шт.

20

FM112030

BOLT

12шт.

21

WB120000

WASHER

12шт.

22

NA112000

NUT

12шт.

Выбрано товаров: 22