Запчасти Case IH 7700 (A03-05A) - VERTICAL ARM EXTRACTOR FAN, SERIAL #7908 TO 8031 INCLUSIVE Mainframe & Functioning Components

Схема запчастей Case IH 7700 - (A03-05A) - VERTICAL ARM EXTRACTOR FAN, SERIAL #7908 TO 8031 INCLUSIVE Mainframe & Functioning Components
12
19
6
7
2
22
11
18
16
13
1
4
14
10
24
17
6
25
15
3
5
8
20
21
9
26
23
FIT
1:1
100%

Артикул

Название

Примечание

Количество

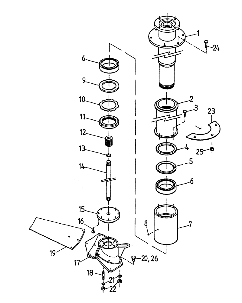
1

87230162

MOUNTING PARTS

MOUNT

1шт.

2

87235737

SLEEVE

SLEEVE

1шт.

3

FC108020

SCREW,M8 x 1.25 x 20mm

SCREW

4шт.

4

00100770

OIL SEAL

SEAL

1шт.

5

CI140000

CIRCLIP

CIRCLIP

1шт.

6

00146532

BEARING

BEARING

2шт.

7

87230229

BEARING HOUSING,124 mm ID x 170 mm OD x 235 mm

BEARING HOUSING

1шт.

8

FE108012

SCREW,M8 x 1.25 x 12mm

SCREW

2шт.

9

87230348

LOCK WASHER

WASHER

1шт.

10

00146523

WASHER

TAB WASHER

1шт.

11

00146524

LOCK NUT

NUT

1шт.

12

87232884

SPLINED COUPLING,14T Internal / 16T External

COUPLING

1шт.

13

CI028000

CIRCLIP

CIRCLIP

1шт.

14

87230156

DRIVE SHAFT

SHAFT

1шт.

15

87230160

FLANGE COVER CAP

END CAP

1шт.

16

FM108030

BOLT

BOLT

8шт.

17

87236413

HUB

HUB

1шт.

18

87236252

STUD

STUD

6шт.

19

87231808

BLADE

BLADE SET

1шт.

20

FM112030

BOLT

BOLT

9шт.

21

WB120000

WASHER

WASHER

18шт.

22

NA112000

NUT

NUT

18шт.

23

87236276

PLATE

PLATE

2шт.

24

FM112045

BOLT

BOLT

6шт.

25

NJ112000

NUT

NUT

6шт.

26

FM112025

BOLT

BOLT

3шт.

Выбрано товаров: 26