Запчасти Case IH 7700 (A04-50) - TRACK ROLLER (7700) Mainframe & Functioning Components

Схема запчастей Case IH 7700 - (A04-50) - TRACK ROLLER (7700) Mainframe & Functioning Components
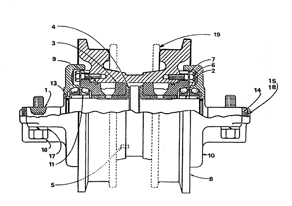
10
15
5
11
3
4
18
13
19
6
14
17
9
1
7
16
2
8
FIT
1:1
100%

Артикул

Название

Примечание

Количество

1

00133380

LOCKING DEVICE

2шт.

2

00133874

SHAFT

1шт.

3

00131471

BUSHING

2шт.

4

00134080

BUSHING

1шт.

5

00133879

PIN

2шт.

6

00133873

BOLT

BOLT

12шт.

7

00131452

WASHER

12шт.

8

00134078

ROLLER

(single)

1шт.

9

00131466

O-RING

SEAL

2шт.

10

00134079

COLLAR

COLLAR

2шт.

11

00131467

SEAL

GROUP

2шт.

13

00133882

O-RING

SEAL

2шт.

14

00133651

RING

2шт.

15

00131457

PLUG

1шт.

16

00133881

BOLT

4шт.

17

00131382

WASHER

4шт.

18

00131458

SEAL

1шт.

19

00134083

ROLLER

ROLLER (double)

1шт.

20

00134084

SEAL KIT

1шт.

21

00131407

ROLLER

ASSEMBLY (single)

8шт.

22

00131408

ROLLER

ASSEMBLY (double)

8шт.

Выбрано товаров: 21