Запчасти Case IH 7700 (C01-54) - STARTER MOTOR (KOMATSU) Engine & Engine Attachments

Схема запчастей Case IH 7700 - (C01-54) - STARTER MOTOR (KOMATSU) Engine & Engine Attachments
30
24
38
4
20
37
10
31
9
6
19
4
12
16
33
8
39
28
5
14
34
3
26
30
22
36
35
41
17
13
2
29
32
7
27
25
23
21
15
1
18
11
FIT
1:1
100%

Артикул

Название

Примечание

Количество

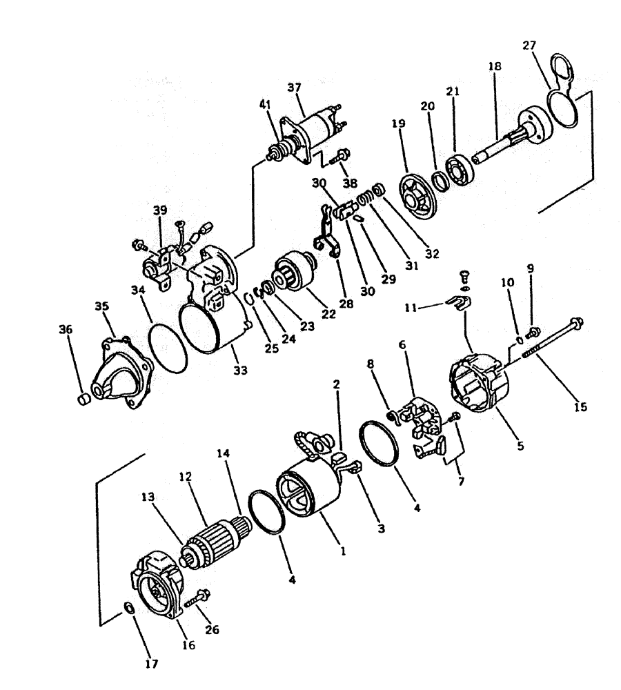
1

00139481

CLEVIS

YOKE ASSEMBLY

1шт.

2

00139482

BRUSH, COMMUTATOR

BRUSH

1шт.

3

00139482

BRUSH, COMMUTATOR

BRUSH

1шт.

4

00139483

PACKING

2шт.

5

00139484

CLAMP BRACKET

(rear)

1шт.

6

00139485

BRUSH HOLDER

ASSEMBLY

1шт.

7

00139486

BRUSH, COMMUTATOR

BRUSH

2шт.

8

00139487

SPRING

BRUSH

4шт.

9

00139488

SCREW

2шт.

10

00139489

O-RING

2шт.

11

00139490

PLATE

1шт.

12

00139491

ARMATURE

1шт.

13

00139492

BEARING

1шт.

14

00139493

BEARING

1шт.

15

00139494

BOLT

2шт.

16

00139495

CASE

1шт.

17

00139496

WASHER

1шт.

18

00139497

SHAFT

1шт.

19

00139498

HOLDER

1шт.

20

00139499

OIL SEAL

1шт.

21

00139500

BEARING

1шт.

22

00139501

CLUTCH ASSEMBLY

PINION

1шт.

23

00139502

PINION

STOPPER

1шт.

24

00139503

HOOK

HOOK

2шт.

25

00139504

RETAINER

RETAINER

1шт.

26

00139505

BOLT

1шт.

27

00139506

PACKING

1шт.

28

00139507

CONTROL LEVER

1шт.

29

00139508

ROD

1шт.

30

00139509

HOLDER

2шт.

31

00139510

COIL SPRING

1шт.

32

00139511

COLLAR

1шт.

33

00139512

CLAMP BRACKET

1шт.

34

00139513

O-RING

1шт.

35

00139514

GEAR

CASE ASSEMBLY

1шт.

36

00139515

CRANKSHAFT BEARING

METAL

1шт.

37

00139516

SWITCH ASSY

1шт.

38

00139517

BOLT

1шт.

39

00139518

RELAY

1шт.

40

00139473

STARTING MOTOR

1шт.

41

00180359

SPRING

SPRING

1шт.

Выбрано товаров: 41