Запчасти Case IH 7700 (C03-40) - ENGINE SHUTDOWN AND THROTTLE (108) Engine & Engine Attachments

Схема запчастей Case IH 7700 - (C03-40) - ENGINE SHUTDOWN AND THROTTLE (108) Engine & Engine Attachments
8
5
9
6
10
3
4
2
7
1
FIT
1:1
100%

Артикул

Название

Примечание

Количество

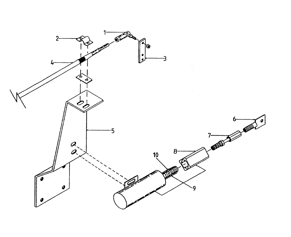
1

00133023

BALL JOINT

1шт.

2

00133723

CLAMP

ASSEMBLY

1шт.

3

87197200

LEVER

LEVER

1шт.

4

00134280

CABLE

1шт.

5

87224221

CLAMP BRACKET

1шт.

5

FA110020

BOLT

4шт.

5

WB100000

WASHER

4шт.

6

87219967

CONNECTING LINK

1шт.

6

00605799

NUT

1шт.

7

00137247

ADAPTER

SWIVEL

1шт.

7

00605799

NUT

1шт.

8

00137661

RUBBER

BOOT

1шт.

9

87232492

SOLENOID

1шт.

9

00601493

BOLT

2шт.

9

00605793

NUT

2шт.

9

00605825

WASHER

2шт.

10

00137669

SPRING

SPRING

1шт.

Выбрано товаров: 17