Запчасти Case IH 7700 (C03-50) - THROTTLE (6CT) Engine & Engine Attachments

Схема запчастей Case IH 7700 - (C03-50) - THROTTLE (6CT) Engine & Engine Attachments
6
5
14
13
8
4
10
9
12
3
8
11
7
2
1
FIT
1:1
100%

Артикул

Название

Примечание

Количество

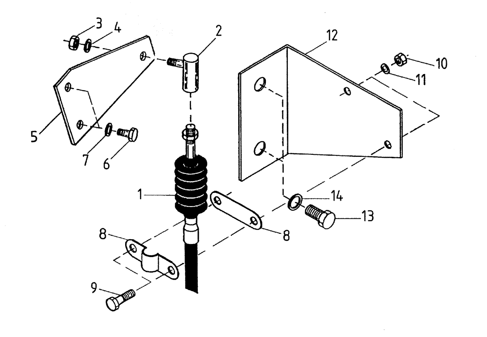
1

00134280

CABLE

1шт.

2

00133023

BALL JOINT

1шт.

3

00605794

NUT

1шт.

4

00605826

WASHER

1шт.

5

87234127

CLAMP BRACKET

LEVER

1шт.

6

FA106012

BOLT

2шт.

7

WB060000

SPRING WASHER

2шт.

8

00133723

CLAMP

ASSEMBLY

1шт.

9

00601493

BOLT

2шт.

10

00605793

NUT

2шт.

11

00605825

WASHER

2шт.

12

87223270

CLAMP

BRACKET

1шт.

13

FA110020

BOLT

2шт.

14

WB100000

WASHER

2шт.

Выбрано товаров: 14