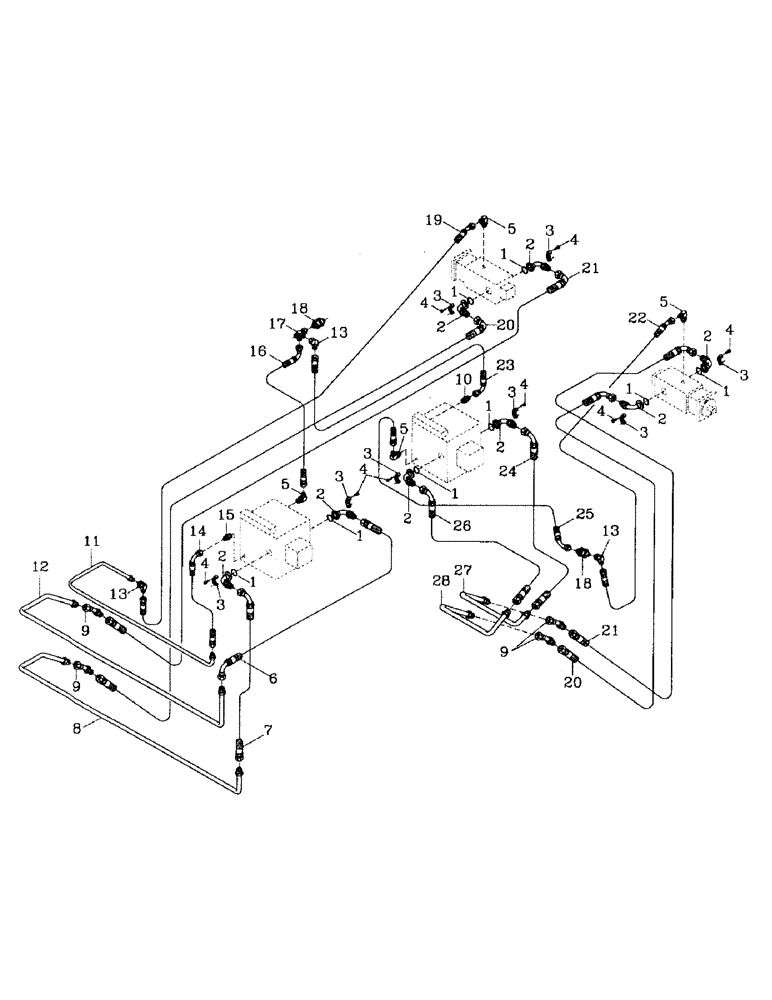
Запчасти Case IH 7700 (B06-65) - HYDRAULIC CIRCUIT, TRANSMISSION, FLORIDA OPTION Hydraulic Components & Circuits

Схема запчастей Case IH 7700 - (B06-65) - HYDRAULIC CIRCUIT, TRANSMISSION, FLORIDA OPTION Hydraulic Components & Circuits
1
15
2
1
5
18
9
1
7
6
1
3
14
24
8
5
22
1
4
1
2
2
3
27
20
19
4
25
13
3
21
3
2
3
12
28
1
4
4
4
4
2
4
20
18
2
3
3
5
16
9
17
9
2
1
21
5
23
2
11
3
10
26
13
13
FIT
1:1
100%

Артикул

Название

Примечание

Количество

1

00100024

O-RING

8шт.

2

00403854

HYD CONNECTOR

BEND

8шт.

3

00400151

SPECIAL CLAMP

CLAMP

8шт.

4

00604462

SCREW

32шт.

5

00400096

HYD CONNECTOR

ELBOW

4шт.

6

86829200

HOSE

1шт.

7

82724800

HOSE

1шт.

8

87247702

TUBE

1шт.

9

00407240

HYD CONNECTOR

BEND

4шт.

10

00405844

HYD CONNECTOR

NIPPLE

1шт.

11

87247704

TUBE,19 mm OD

1шт.

12

87247700

TUBE

1шт.

13

00404300

HYD CONNECTOR

ELBOW

2шт.

14

81673400

HOSE

1шт.

15

00400231

HYD CONNECTOR

NIPPLE

1шт.

16

86311426

HOSE ASSY.

HOSE

1шт.

17

87247078

HYD CONNECTOR

ADAPTOR

1шт.

18

00400068

HYD CONNECTOR

NIPPLE

2шт.

19

87171700

HOSE

1шт.

20

87165200

HOSE

2шт.

21

82761300

HOSE

2шт.

21

86310296

HOSE ASSY.

HOSE (Louisiana)

2шт.

22

86306935

HOSE

HYDRAULIC HOSE

1шт.

23

87233325

HOSE

1шт.

24

87222443

HOSE

1шт.

25

82710000

HOSE

1шт.

26

82726000

HOSE

1шт.

27

87229873

TUBE,25.40 mm OD

1шт.

28

87243649

TUBE,25.40 mm OD

1шт.

Выбрано товаров: 29