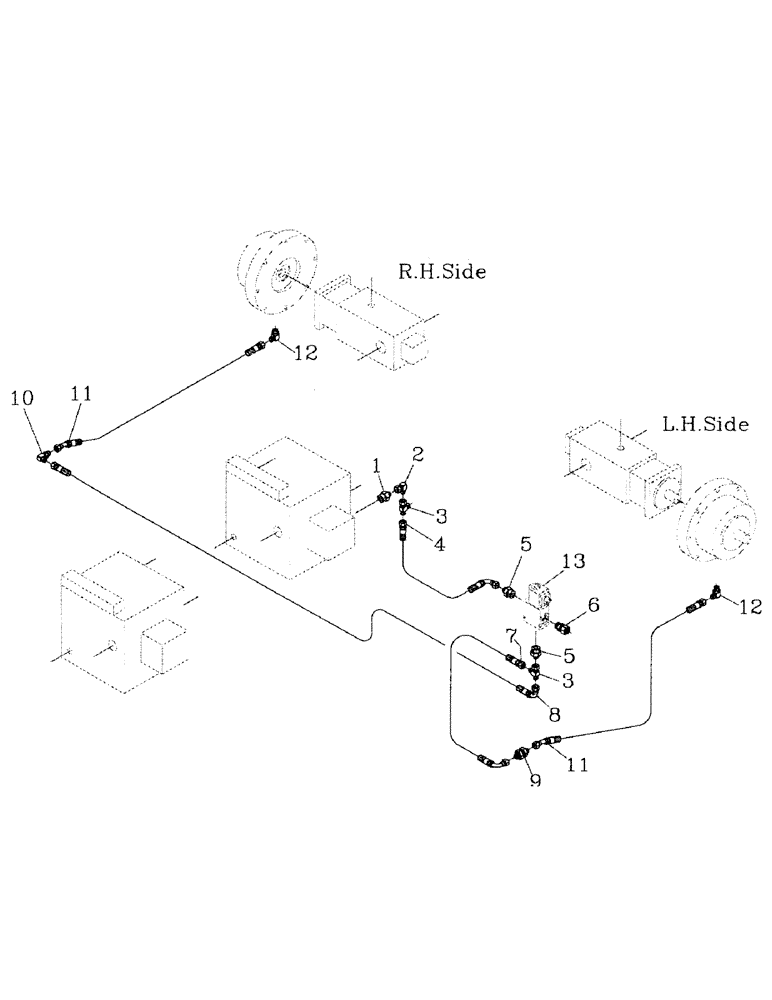
Запчасти Case IH 7700 (B07-10) - HYDRAULIC CIRCUIT, FAIL SAFE BRAKE 7700, FLORIDA OPTION Hydraulic Components & Circuits

Схема запчастей Case IH 7700 - (B07-10) - HYDRAULIC CIRCUIT, FAIL SAFE BRAKE 7700, FLORIDA OPTION Hydraulic Components & Circuits
5
11
2
4
5
3
9
8
12
6
13
7
10
12
1
11
3
FIT
1:1
100%

Артикул

Название

Примечание

Количество

1

00400074

HYD CONNECTOR

NIPPLE

1шт.

2

00402878

ELBOW

1шт.

3

00404677

TEE

2шт.

4

86327400

HOSE ASSY.

HOSE

1шт.

5

00400224

HYD CONNECTOR

NIPPLE

1шт.

6

00409421

HYD CONNECTOR

ADAPTOR

1шт.

7

82743000

HOSE

1шт.

8

82745900

HOSE ASSY.,6.35mm ID x 1440mm L, SAE 100R17

HOSE

1шт.

9

00400070

HYD CONNECTOR

NIPPLE

1шт.

10

00404781

HYD CONNECTOR

ELBOW

1шт.

11

87213368

HOSE

2шт.

12

00405242

HYD CONNECTOR

ELBOW

2шт.

13

HYDRAULIC SOLENOID VALVE (Refer Page B04-80-A)

1шт.

Выбрано товаров: 13