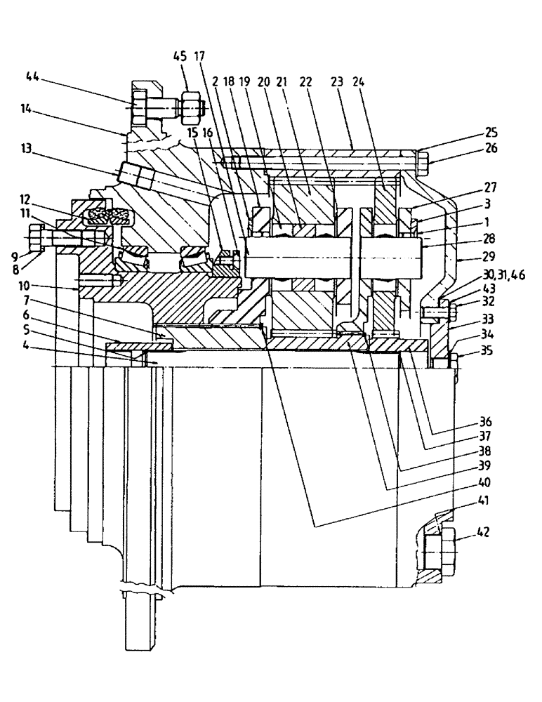
Запчасти Case IH 7700 (A04-15) - EPICYCLIC HUB, 7700, SERIES 60 39, 1 Mainframe & Functioning Components

Схема запчастей Case IH 7700 - (A04-15) - EPICYCLIC HUB, 7700, SERIES 60 39, 1 Mainframe & Functioning Components
33
7
8
24
34
17
39
40
12
27
44
25
19
11
29
3
9
22
2
30
35
4
45
5
20
6
31
10
28
46
16
43
15
14
38
23
37
41
18
21
1
26
13
42
36
32
FIT
1:1
100%

Артикул

Название

Примечание

Количество

1

00605395

SCREW

6шт.

2

86901300

PLATE

KEEPER PLATE (Secondary)

3шт.

3

86309567

PLATE

KEEPER PLATE (Primary)

3шт.

4

86376600

SHAFT

(Input)

1шт.

5

CI028000

CIRCLIP

1шт.

6

86312250

SPLINED COUPLING,14T

COUPLING

1шт.

7

86624900

SPLINED COUPLING

COUPLING

1шт.

8

00131382

WASHER

16шт.

9

00601603

BOLT

16шт.

10

87213860

STUB AXLE/STEERING S

STUB

1шт.

11

00146557

BEARING

2шт.

12

00131826

OIL SEAL

SEAL

1шт.

13

00605620

PLUG

1шт.

14

86624500

HYDRAULIC MOTOR

HUB

1шт.

14

87349714R

REMAN-HYD MOTOR

7700, (FLORIDA) (1/94-12/94), Reman For New P/N's 86624500 & 87349714

1шт.

87349714C

CORE-MOTOR HYDRAULIC

Return Number

1шт.

15

86306728

LOCK NUT

LOCKNUT

1шт.

16

00605380

SCREW

2шт.

17

86901200

PIN,38.46mm OD x 98.5mm L

(Secondary)

3шт.

18

86372400

HUB CARRIER

PLANET CARRIER (Secondary)

1шт.

19

00141546

BEARING

ROLLER

117шт.

20

86377000

SPACER

3шт.

21

86376700

PLANETARY GEAR

GEAR (Secondary)

3шт.

22

81235800

WASHER

THRUST WASHER

12шт.

23

86372000

RING GEAR

1шт.

24

86376800

PLANETARY GEAR

GEAR (Primary)

3шт.

25

00606112

ASSEMBLY

WASHER

12шт.

26

00607097

BOLT

12шт.

27

86372200

HUB CARRIER

PLANET CARRIER (Primary)

1шт.

28

81234900

PIN,38.45mm OD x 57.15mm L

(Primary)

3шт.

29

86376100

COVER ASSY

COVER

1шт.

30

86377500

SHIM,85mm ID x 130mm OD x 0.38mm Thk

(White)

1шт.

31

86377600

SHIM,85mm ID x 130mm OD x 0.76mm Thk

(Maroon)

1шт.

32

00601499

BOLT

4шт.

33

86356400

PLUG

COVER

1шт.

34

00133193

WASHER

1шт.

35

82146000

PLUG,3/4" - 16

1шт.

36

86376400

GEAR

PINION

1шт.

37

CI032000

CIRCLIP

1шт.

38

CE062000

CIRCLIP

1шт.

39

86376500

GEAR

PINION

1шт.

40

00140052

CIRCLIP

1шт.

41

00100021

O-RING

1шт.

42

86377100

PLUG

1шт.

43

00605808

WASHER

4шт.

44

00136030

BOLT

10шт.

45

00136031

NUT

10шт.

46

87242649

SHIM,86mm ID x 128mm OD x 2mm Thk

(2.0mm)

1шт.

47

87115100

HUB ASSY.

ASSEMBLY

1шт.

Выбрано товаров: 49