Запчасти Case IH 7700 (C01[05]) - ENGINE EXHAUST MANIFOLD & TURBO KOMATSU SA6D108 Engine & Engine Attachments

Схема запчастей Case IH 7700 - (C01[05]) - ENGINE EXHAUST MANIFOLD & TURBO KOMATSU SA6D108 Engine & Engine Attachments
2
3
12
4
10
14
1
7
6
2
8
11
5
6
9
7
13
FIT
1:1
100%

Артикул

Название

Примечание

Количество

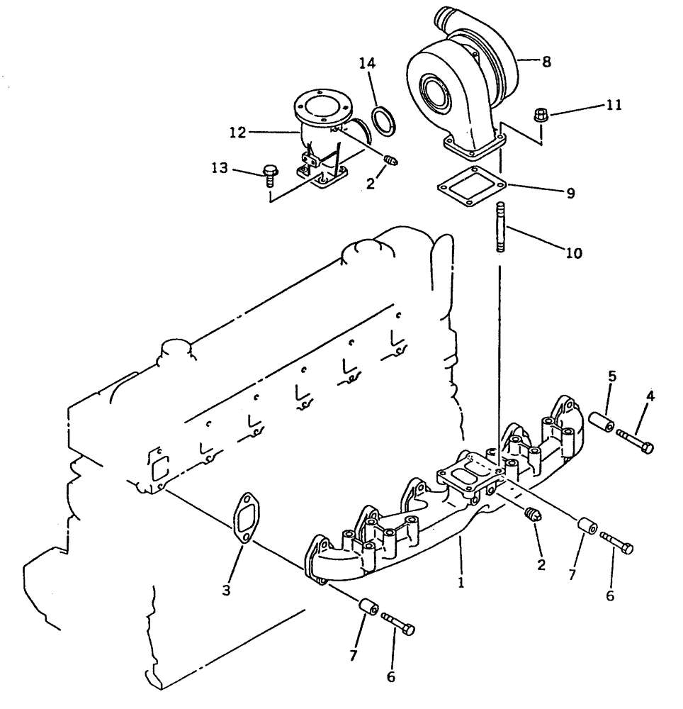
1

00138974

EXHAUST MANIFOLD

1шт.

2

00137943

PLUG

PLUG

3шт.

3

00138975

GASKET

6шт.

4

00138976

BOLT

10шт.

5

00138977

SPACER

SPACER

10шт.

6

00138978

BOLT

2шт.

7

00138979

SPACER

SPACER

2шт.

8

00138980

TURBOCHARGER

1шт.

9

00137041

OIL PAN GASKET SET

1шт.

10

00138981

STUD

4шт.

11

00138982

NUT

4шт.

12

00138983

ELBOW

exhaust

1шт.

13

00138984

BOLT

3шт.

14

00138985

SEAL

RING

1шт.

Выбрано товаров: 14