Запчасти Case IH 7700 (C01[10]) - ENGINE CYLINDER BLOCK, KOMATSU SA6D108-1A1 Engine & Engine Attachments

Схема запчастей Case IH 7700 - (C01[10]) - ENGINE CYLINDER BLOCK, KOMATSU SA6D108-1A1 Engine & Engine Attachments
16
2
20
18
21
28
29
22
2
16
7
19
14
9
5
1
11
7
23
10
1
4
19
6
11
17
22
10
3
12
20
8
26
16
24
30
27
15
7
31
23
21
13
25
FIT
1:1
100%

Артикул

Название

Примечание

Количество

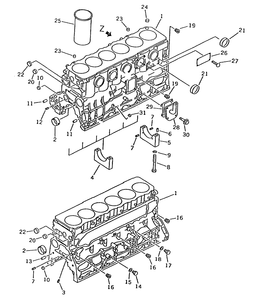
1

00138994

BLOCK

BLOCK cylinder

1шт.

2

00138995

BUSHING

cam

4шт.

2

00139014

COVER

1шт.

3

00137905

PIN

PIN spring

6шт.

4

00138996

CAP

MAIN cap

6шт.

5

00138997

CAP

MAIN cap

1шт.

6

00137902

PIN

PIN dowel

2шт.

7

00137905

PIN

PIN spring

6шт.

8

00138998

BOLT

cap

14шт.

9

00138999

WASHER

14шт.

10

00139000

PLUG exp

2шт.

11

00139001

RING dowel

2шт.

12

00137906

PIN

spring

1шт.

13

00137903

PIN

dowel

2шт.

14

00137939

PLUG

PLUG

2шт.

15

00137931

GASKET

2шт.

16

00138914

PLUG

3шт.

17

00139002

PLUG

1шт.

18

00137930

GASKET

1шт.

19

00139003

PLUG

2шт.

20

00139004

PLUG

exp

2шт.

21

00139005

PLUG

exp

5шт.

22

00139006

PLUG exp

2шт.

23

00139007

DOWEL

BUSHING

2шт.

24

00139008

PLUG

PLUG exp

1шт.

25

00139011

LINER, ENGINE CYLIND

L

1шт.

25

00139009

LINER, ENGINE CYLIND

S

1шт.

25

00139010

LINER, ENGINE CYLIND

M

1шт.

26

00139012

PLATE name

1шт.

27

00139013

SCREW

4шт.

28

00139014

COVER

1шт.

29

00139015

ASSEMBLY

GASKET

1шт.

30

00139016

BOLT

4шт.

31

00139017

PLUG

1шт.

32

00138993

BLOCK ASSY. cylinder

1шт.

Выбрано товаров: 35