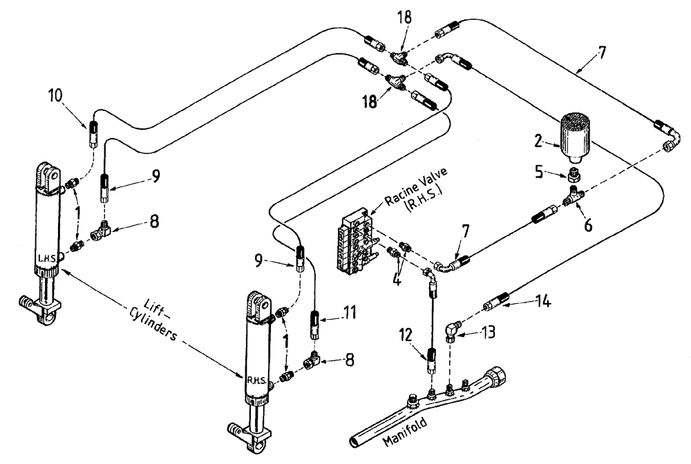
Запчасти Case IH 7700 (B05[65]) - HYDRAULIC CIRCUIT, LIFT CYLINDER, STANDARD Hydraulic Components & Circuits

Схема запчастей Case IH 7700 - (B05[65]) - HYDRAULIC CIRCUIT, LIFT CYLINDER, STANDARD Hydraulic Components & Circuits
7
1
7
2
4
8
18
1
9
14
9
5
11
13
12
10
6
8
18
FIT
1:1
100%

Артикул

Название

Примечание

Количество

1

00400165

HYD CONNECTOR

NIPPLE

2шт.

2

ACCUMULATOR, see Figure B04 [99]

1шт.

4

00400073

HYD CONNECTOR

NIPPLE

2шт.

5

00407261

BUSHING

BUSH

1шт.

6

00407260

TEE

TEE

1шт.

7

82707800

HOSE

2шт.

8

00400192

HYD CONNECTOR

ELBOW

2шт.

9

82719300

HOSE

2шт.

10

82747300

HOSE,9.53mm ID x 1570mm L, SAE 100R17

HOSE

1шт.

11

82748500

HOSE ASSY.

1шт.

12

83135400

HOSE

HOSE

1шт.

13

00402879

HYD CONNECTOR

ELBOW

1шт.

14

87221472

HOSE

1шт.

18

87223295

TEE

2шт.

Выбрано товаров: 14