Запчасти Case IH 7700 (C01[12]) - ENGINE OIL PAN, KOMATSU SA6D108-1A1 Engine & Engine Attachments

Схема запчастей Case IH 7700 - (C01[12]) - ENGINE OIL PAN, KOMATSU SA6D108-1A1 Engine & Engine Attachments
2
10
9
4
11
7
1
8
15
14
5
3
12
5
13
6
FIT
1:1
100%

Артикул

Название

Примечание

Количество

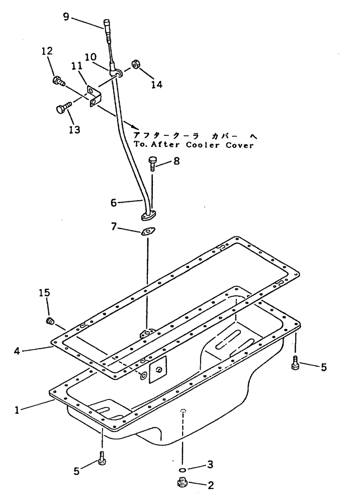
1

00139037

PAN oil

1шт.

2

00138267

PLUG

PLUG drain

1шт.

3

00137044

O-RING

1шт.

4

00139038

OIL PAN GASKET SET

1шт.

5

00138971

BOLT

38шт.

6

00139039

GUIDE

gauge

2шт.

7

00139040

ASSEMBLY

GASKET

1шт.

8

00139041

SHIM

BOLT

2шт.

9

00139042

OIL PRESSURE GAUGE

1шт.

10

00139043

CLIP

1шт.

11

00139044

BRACKET

1шт.

12

00139045

BOLT

1шт.

13

00139046

BOLT

1шт.

14

00139047

NUT

1шт.

15

00137793

PLUG

PLUG

1шт.

Выбрано товаров: 0