Запчасти Case IH 7700 (B07[01]) - HYDRAULIC CIRCUIT, ELEVATOR LIFT KIT, UP TO AND INCLUDING SERIAL # 7659 Hydraulic Components & Circuits

Схема запчастей Case IH 7700 - (B07[01]) - HYDRAULIC CIRCUIT, ELEVATOR LIFT KIT, UP TO AND INCLUDING SERIAL # 7659 Hydraulic Components & Circuits
12
6
5
15
16
11
14
4
13
4
5
9
3
6
8
5
5
17
2
1
2
7
10
FIT
1:1
100%

Артикул

Название

Примечание

Количество

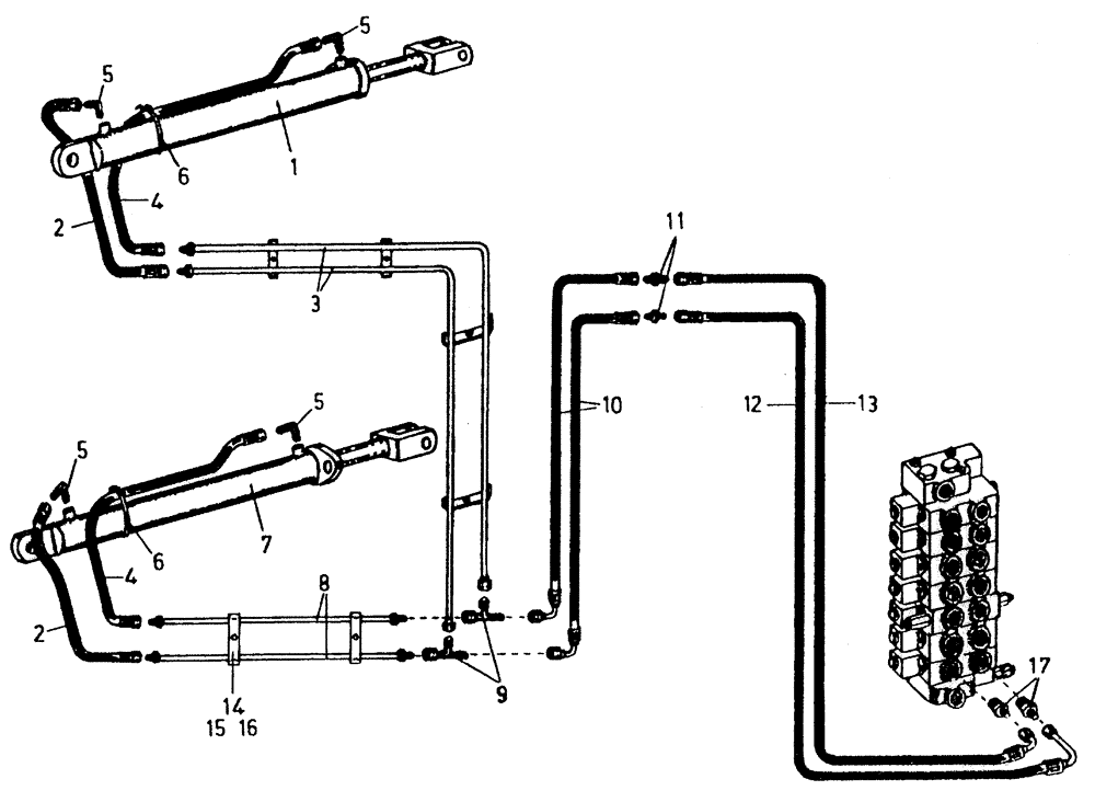
1

CYLINDER, see Figure B01 [45]

1шт.

2

82714400

HOSE

2шт.

3

87219999

TUBE

2шт.

4

81966600

HOSE,6.35mm ID x 1120mm L, SAE 100R17

2шт.

5

00400189

HYD CONNECTOR

ELBOW

4шт.

6

00134643

STRAP

TIE

2шт.

7

CYLINDER, see Figure B01 [45]

1шт.

8

87219998

TUBE

2шт.

9

00404677

TEE

2шт.

10

86302758

HOSE

HOSE

2шт.

11

00400177

HYD CONNECTOR

NIPPLE

2шт.

12

87033800

HOSE

1шт.

13

87034000

HOSE

1шт.

14

81872600

WASHER,0.5" ID x 1.62" OD x 0.08" Thk

CLAMP outer

6шт.

15

81872700

STRIP

STRIP outer

6шт.

16

81872800

STRIP

STRIP inner

6шт.

17

00400074

HYD CONNECTOR

NIPPLE

2шт.

Выбрано товаров: 17