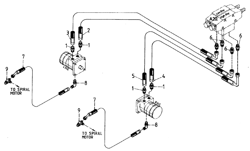
Запчасти Case IH 7700 (B07[06]) - HYDRAULIC CIRCUIT, SIDETRIM KIT Hydraulic Components & Circuits

Схема запчастей Case IH 7700 - (B07[06]) - HYDRAULIC CIRCUIT, SIDETRIM KIT Hydraulic Components & Circuits
6
7
8
3
2
6
9
1
8
6
1
4
9
7
5
1
1
FIT
1:1
100%

Артикул

Название

Примечание

Количество

1

00400228

HYD CONNECTOR

NIPPLE

4шт.

2

87175600

HOSE

1шт.

3

87175500

HOSE

1шт.

4

87220515

HOSE

1шт.

5

82732900

HOSE ASSY.

1шт.

6

00400230

HYD CONNECTOR

NIPPLE

4шт.

7

87227380

HOSE

2шт.

8

00405242

HYD CONNECTOR

ELBOW

2шт.

9

00403925

TEE

2шт.

Выбрано товаров: 9