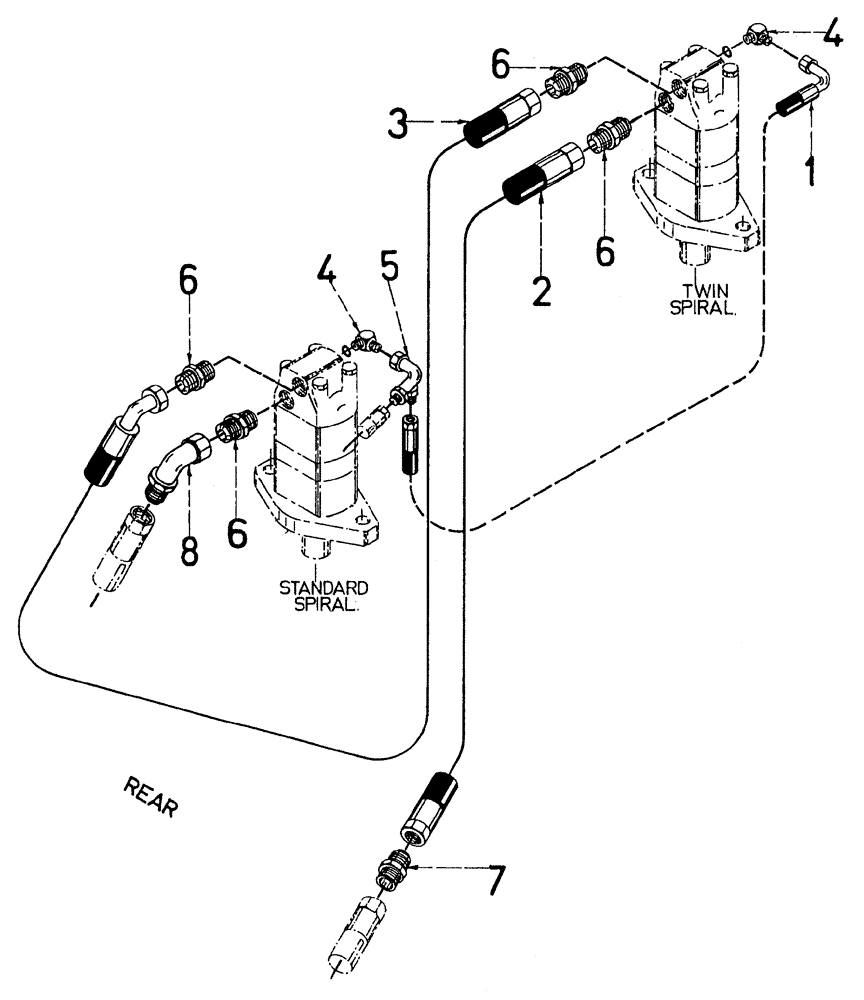
Запчасти Case IH 7700 (B07[10]) - HYDRAULIC CIRCUIT, TWIN SPIRALS KIT Hydraulic Components & Circuits

Схема запчастей Case IH 7700 - (B07[10]) - HYDRAULIC CIRCUIT, TWIN SPIRALS KIT Hydraulic Components & Circuits
6
8
3
7
6
2
4
5
4
1
6
6
FIT
1:1
100%

Артикул

Название

Примечание

Количество

1

87219801

HOSE

2шт.

2

86306950

HOSE

1шт.

3

82718600

HOSE ASSY.

1шт.

4

00405242

HYD CONNECTOR

ELBOW

2шт.

5

87219738

ADAPTER

2шт.

6

00400229

HYD CONNECTOR

NIPPLE

8шт.

7

00400182

HYD CONNECTOR

NIPPLE

2шт.

8

87219791

HYD CONNECTOR

ADAPTOR

2шт.

Выбрано товаров: 0