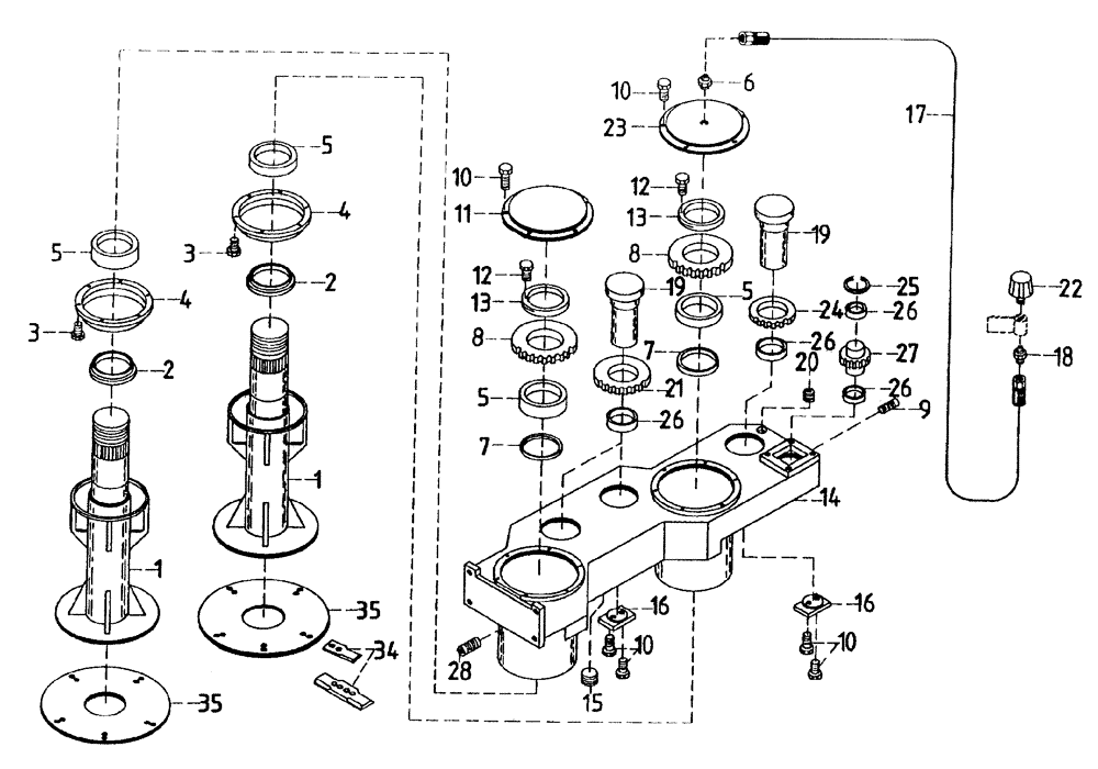
Запчасти Case IH 7700 (G01[05]) - BASECUTTER GEARBOX, UP TO AND INCLUDING SERIAL # 7658 Leg Base Cutter

Схема запчастей Case IH 7700 - (G01[05]) - BASECUTTER GEARBOX, UP TO AND INCLUDING SERIAL # 7658 Leg Base Cutter
27
3
26
7
13
8
34
2
21
35
5
13
16
16
4
12
8
11
19
10
25
19
5
12
20
17
22
26
6
7
10
26
14
1
5
28
1
3
26
5
23
24
15
18
9
35
2
10
4
10
FIT
1:1
100%

Артикул

Название

Примечание

Количество

1

87223546

ASSEMBLY

BASECUTTER leg, complete

2шт.

2

00100770

OIL SEAL

2шт.

3

FA110030

BOLT

12шт.

4

87223564

SEAL

HOUSING seal retainer

2шт.

5

00146616

BEARING

4шт.

6

00400162

HYD CONNECTOR

NIPPLE

1шт.

7

00100796

OIL SEAL

2шт.

8

87223442

GEAR

output

2шт.

9

00605618

PLUG

1шт.

10

FA110025

BOLT

12шт.

11

87223566

COVER PLATE

R.H.

1шт.

12

00601495

BOLT

4шт.

13

83001500

LOCK NUT

2шт.

14

87223452

BASE

GEARBOX machined

1шт.

15

00605622

PLUG

1шт.

16

87213745

PLATE

retainer

3шт.

17

82717700

HOSE

1шт.

18

00400160

HYD CONNECTOR

NIPPLE

1шт.

19

87223565

PIN,45mm OD x 110.5mm L

3шт.

20

00605620

PLUG

1шт.

21

87191200

IDLER GEAR

2шт.

22

00407924

FILLER CAP

BREATHER

1шт.

23

87223567

COVER PLATE

L.H.

1шт.

24

87191100

IDLER GEAR

1шт.

25

CI100000

CIRCLIP

1шт.

26

00144063

BEARING

5шт.

27

87223444

GEAR

input

1шт.

28

00154525

PLUG

2шт.

34

86902700

BLADE,265mm L x 90mm W x 4mm Thk

10шт.

34

00601501

BOLT

20шт.

34

00605797

NUT

20шт.

35

86902000

DISC

2шт.

Выбрано товаров: 32