Качественные детали и логистика
Оригинальные и аналоговые запчасти с доставкой по России, Казахстану и Беларуси
©2022 PartSell ООО "Система" ИНН 2463123282 ОГРН 1212400004838
Центральный офис: г. Красноярск, Академика Киренского, д.87, пом.4
Телефон: 8 (800) 777-65-74 Email: zakaz@partsell.ru
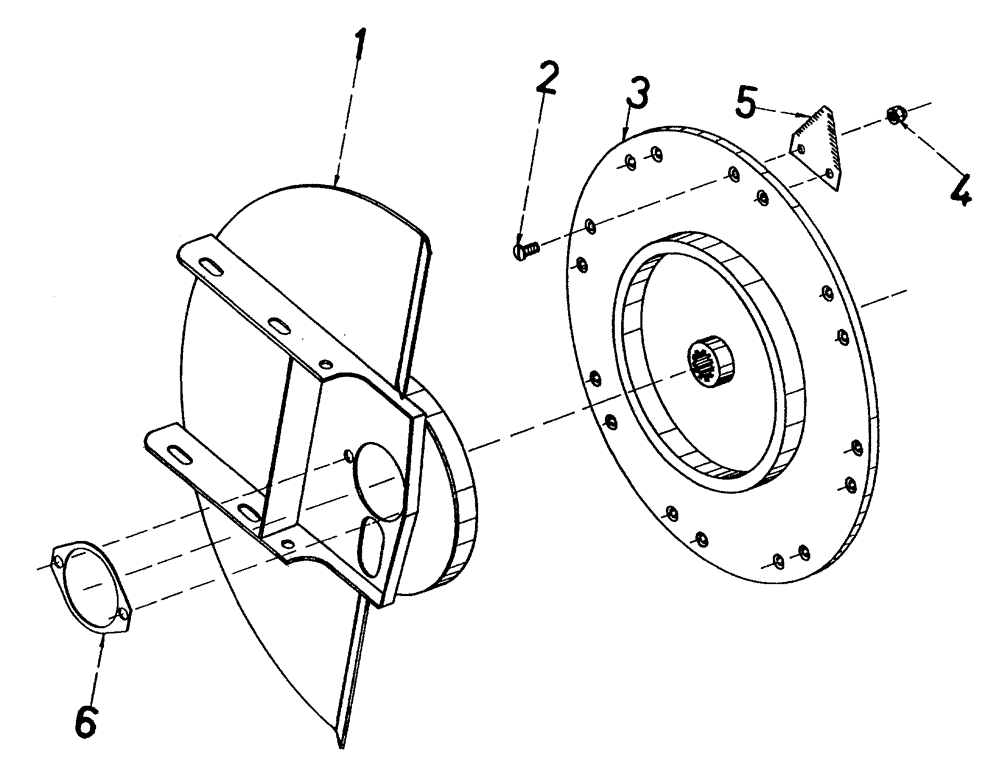
(A02[04]) - SIDE TRIM KNIVES
№
Артикул
Название
Примечание
Количество
1
86949300
MOUNTING PARTS
BRACKET R.H.
1шт.
86949200
BRACKET L.H.
2
00605373
SCREW
BOLT
16шт.
3
87217492
HUB
4
00605998
LOCK NUT
5
87213869
BLADE
8шт.
6
87217466
PACKING
Выбрано товаров: 0