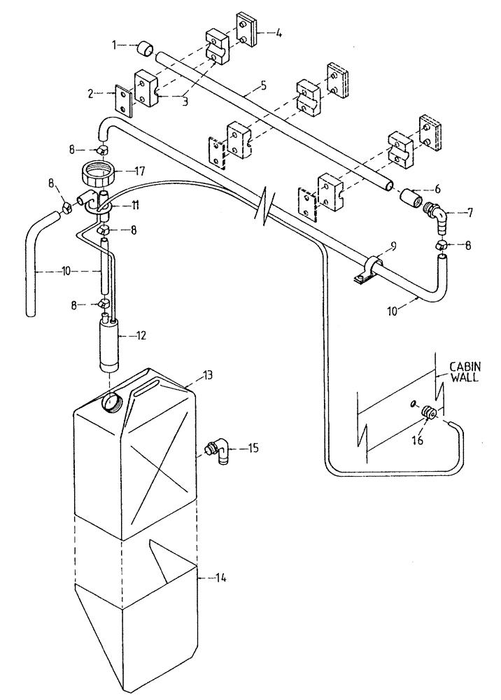
Запчасти Case IH 7700 (A04[22]) - CABIN WINDSCREEN WASHER Mainframe & Functioning Components

Схема запчастей Case IH 7700 - (A04[22]) - CABIN WINDSCREEN WASHER Mainframe & Functioning Components
8
10
1
8
3
9
8
8
4
6
10
16
8
12
17
2
7
14
11
13
5
15
FIT
1:1
100%

Артикул

Название

Примечание

Количество

1

00139795

FLANGE COVER CAP

ENDCAP

1шт.

2

00405216

COVER

PLATE cover, and bolt

3шт.

3

00405223

CLAMP

CLAMP

3шт.

4

87223353

CLAMP

BASE

3шт.

5

87224298

TUBE

spray

1шт.

6

00139953

SOCKET ASSY

1шт.

7

00139799

ELBOW

1шт.

8

00152126

HOSE CLAMP

CLAMP

5шт.

9

00134541

CLAMP

CLIP

5шт.

10

00154521

HOSE

HOSE

1шт.

11

87224293

TUBE

OUTLET ASSY.

1шт.

12

00139837

WATER PUMP

1шт.

13

00139951

MEASURING CAN

CONTAINER water

1шт.

14

87224274

HOLDER

container

1шт.

15

00139954

ELBOW

1шт.

16

00135756

GROMMET

1шт.

17

87224350

CAP

container

1шт.

Выбрано товаров: 17