Запчасти Case IH 7700 (C01[35]) - ENGINE FUEL PUMP, GOVERNOR, KOMATSU SA6D108 Engine & Engine Attachments

Схема запчастей Case IH 7700 - (C01[35]) - ENGINE FUEL PUMP, GOVERNOR, KOMATSU SA6D108 Engine & Engine Attachments
8
14
20
30
9
25
23
32
47
34
40
11
31
17
43
6
29
22
21
42
10
46
7
6
5
19
15
44
48
3
18
28
27
39
10
34
16
26
36
13
33
4
12
45
35
1
2
37
9
28
38
41
24
FIT
1:1
100%

Артикул

Название

Примечание

Количество

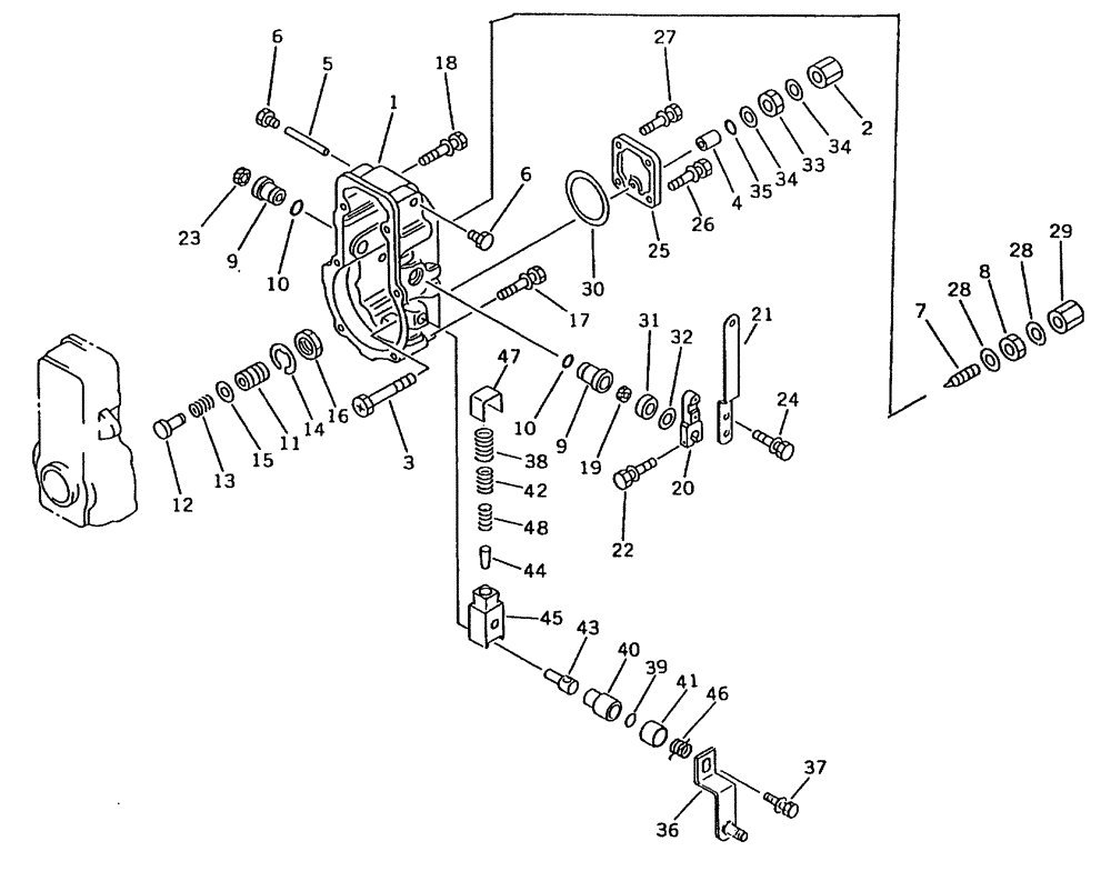
1

00139336

COVER

1шт.

2

00139337

CAP nut

1шт.

3

00139338

SCREW

1шт.

4

00139339

BUSH

1шт.

5

00139340

SHAFT

1шт.

6

00139341

PLUG

2шт.

7

00139342

CAPSULE

1шт.

8

00139343

NUT

1шт.

9

00139344

BUSHING

2шт.

10

00139345

O-RING

2шт.

11

00139347

SCREW adaptor

1шт.

11

00139346

ADAPTOR

1шт.

12

00139348

ADAPTOR

1шт.

13

00139349

SPRING gov

1шт.

14

00139350

E-RING

1шт.

15

00139352

PLATE, 0.25 mm

1шт.

15

00139351

PLATE, 0.1 mm

1шт.

15

00139354

PLATE, 0.2 mm

1шт.

15

00139355

PLATE, 1.0 mm

1шт.

15

00139353

PLATE, 0.5 mm

1шт.

16

00139356

NUT

1шт.

17

00139357

BOLT

4шт.

18

00139358

BOLT

2шт.

19

00139359

OIL SEAL

1шт.

20

00139360

LEVER

1шт.

21

00139361

LEVER

1шт.

22

00139362

BOLT

1шт.

23

00139363

CAP

1шт.

24

00139364

BOLT

2шт.

25

00139365

PLATE

1шт.

26

00139366

BOLT

2шт.

27

00139306

BOLT

2шт.

28

00139367

WASHER

2шт.

29

00139368

NUT

1шт.

30

00139369

PACKING

1шт.

31

00139370

BUSH

1шт.

32

00139371

WASHER, 0.3

1шт.

32

00139372

WASHER, 0.6

1шт.

32

00139373

WASHER, 0.9

1шт.

33

00139374

NUT plate

1шт.

34

00139375

WASHER

2шт.

35

00139376

O-RING

1шт.

36

00139377

LEVER

LEVER stop

1шт.

37

00139378

BOLT

1шт.

38

00139379

SPRING outer

1шт.

39

00139380

O-RING

1шт.

40

00139381

BUSHING

1шт.

41

00139382

COVER ASSY

spring

1шт.

42

00139383

SPRING

1шт.

43

00139384

SHAFT

1шт.

44

00139385

CAP spring

1шт.

45

00139386

LEVER

1шт.

46

00139387

SPRING

SPRING

1шт.

47

00139388

CAP plate

1шт.

48

00139389

SPRING

1шт.

49

00139335

GOVERNOR

ASSY.

1шт.

Выбрано товаров: 56