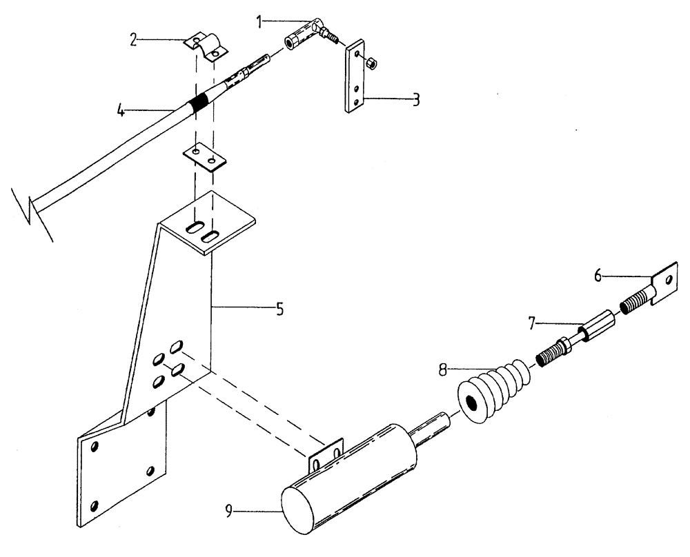
Запчасти Case IH 7700 (C03[07]) - ENGINE SHUTDOWN, UP TO AND INCLUDING SERIAL # 7578 Engine & Engine Attachments

Схема запчастей Case IH 7700 - (C03[07]) - ENGINE SHUTDOWN, UP TO AND INCLUDING SERIAL # 7578 Engine & Engine Attachments
6
7
5
9
4
1
2
3
8
FIT
1:1
100%

Артикул

Название

Примечание

Количество

1

00133023

BALL JOINT

1шт.

2

00133723

CLAMP

ASSY.

1шт.

3

87197200

LEVER

LEVER

1шт.

4

00134280

CABLE

1шт.

5

87219840

BRACKET

BRACKET

1шт.

5

FA110020

BOLT

4шт.

5

WB100000

WASHER

4шт.

6

87219967

CONNECTING LINK

1шт.

6

00605799

NUT

1шт.

7

00137247

ADAPTER

SWIVEL

1шт.

7

00605799

NUT

1шт.

8

00139895

BOOT

1шт.

9

00138875

SOLENOID

1шт.

9

00601493

BOLT

4шт.

9

00605793

NUT

4шт.

9

00605825

WASHER

4шт.

Выбрано товаров: 16