Запчасти Case IH 7700 (B01[65]) - BRAKE CYLINDER Hydraulic Components & Circuits

Схема запчастей Case IH 7700 - (B01[65]) - BRAKE CYLINDER Hydraulic Components & Circuits
7
3
10
5
4
8
6
12
2
11
FIT
1:1
100%

Артикул

Название

Примечание

Количество

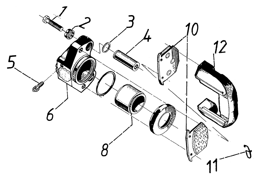
1

00135677

BOLT

2шт.

2

00135678

BOOT

2шт.

3

00135679

SEAL

2шт.

4

00135680

SLEEVE

2шт.

5

00135681

SCREW

1шт.

6

00135683

HOUSING R.H.

1шт.

6

00135682

HOUSING L.H.

1шт.

8

00135685

PISTON

1шт.

10

00135687

BRAKE LINING

PAD ASSY.

2шт.

11

00135689

SPRING

2шт.

12

00135690

BRACKET

1шт.

13

00135542

CALIPER

BRAKE ASSY. L.H.

1шт.

13

00135541

KIT

BRAKE ASSY. R.H.

1шт.

14

00135804

SEAL KIT

1шт.

Выбрано товаров: 14