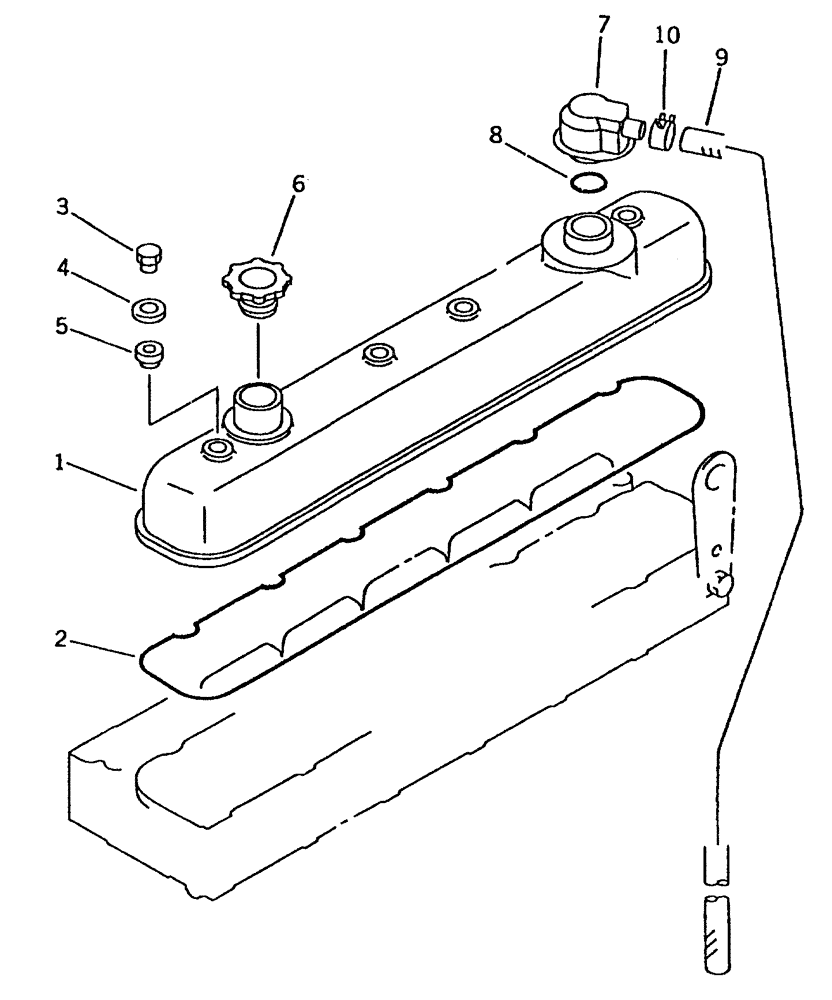
Запчасти Case IH 7700 (C01[03]) - ENGINE CYLINDER HEAD COVER, KOMATSU SA6D108-1A1 Engine & Engine Attachments

Схема запчастей Case IH 7700 - (C01[03]) - ENGINE CYLINDER HEAD COVER, KOMATSU SA6D108-1A1 Engine & Engine Attachments
7
8
10
3
5
6
1
9
2
4
FIT
1:1
100%

Артикул

Название

Примечание

Количество

1

00138940

COVER

COVER

1шт.

2

00138941

O-RING

1шт.

2

00138293

NUT

NUT

4шт.

3

00138294

WASHER

4шт.

5

00138295

PACKAGE

PACKING

4шт.

6

00338265

CAP

1шт.

7

00138942

BREATHER

1шт.

8

00138943

O-RING

1шт.

9

00138944

HOSE

1шт.

10

00138945

CLIP

1шт.

Выбрано товаров: 10