Запчасти Case IH 7700 (B03[04]) - PUMP HYDRAULIC DISPLACEMENT CONTROL Hydraulic Components & Circuits

Схема запчастей Case IH 7700 - (B03[04]) - PUMP HYDRAULIC DISPLACEMENT CONTROL Hydraulic Components & Circuits
25
13
7
29
24
17
5
19
30
20
18
2
4
22
21
10a
9
11
3
31
6
10
15
8
12
14
16
23
1
FIT
1:1
100%

Артикул

Название

Примечание

Количество

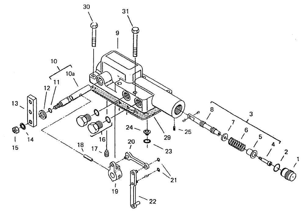
1

00407406

SCREW adjusting

1шт.

2

00407407

O-RING

1шт.

3

00407770

ASSEMBLY

SPOOL-S ASSY.

1шт.

4

00407409

SCREW

SCREW

1шт.

5

00407410

SPRING

RETAINER

1шт.

6

00407411

SPRING

SPRING

1шт.

7

00407412

SPACER

SPACER

1шт.

8

00407745

SPOOL

1шт.

9

00407771

HOUSING

1шт.

10

00407417

SHAFT

ASSY.

1шт.

11

00407419

O-RING

1шт.

12

00407404

SEAL

1шт.

13

00407420

LEVER ASSY.

1шт.

14

00407421

LOCKING DEVICE

WASHER

1шт.

15

00407422

NUT

1шт.

16

00407423

PLUG

ASSY.

2шт.

16

00407424

O-RING

2шт.

17

00407555

SCREW

1шт.

18

00407556

PIN

1шт.

19

00407746

HYD CONNECTOR

1шт.

20

00407558

CONNECTING LINK

1шт.

21

00407559

RETAINER

RING

2шт.

22

00407561

CONNECTING LINK

1шт.

23

00407563

SEAL

WASHER

1шт.

24

00407564

ORIFICE

1шт.

25

00407565

SCREW

1шт.

36

00407575

GASKET

1шт.

37

00407577

BOLT

4шт.

38

00407579

BOLT

2шт.

39

00407581

SEAL KIT

1шт.

42

00407418

CONTROL SHAFT

1шт.

43

00407769

HYDRAULIC PUMP

ASSY.

1шт.

Выбрано товаров: 32