Запчасти Case IH 7700 (B05[10A]) - HYDRAULIC SUCTION LINES {108/6CT} Hydraulic Components & Circuits

Схема запчастей Case IH 7700 - (B05[10A]) - HYDRAULIC SUCTION LINES {108/6CT} Hydraulic Components & Circuits
8
2
8
10
20
1
6
18
11
1
2
19
17
8
7
14
9
5
12
3
4
8
2
7
13
2
1
2
1
15
2
2
2
16
FIT
1:1
100%

Артикул

Название

Примечание

Количество

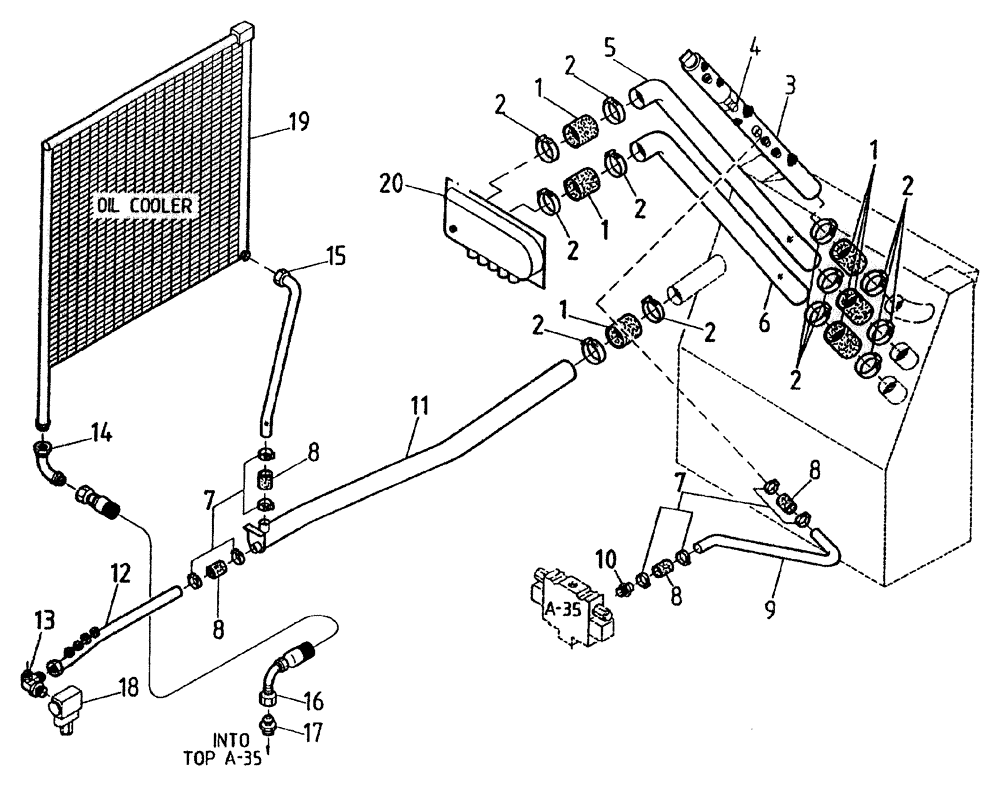
1

86475800

HOSE,76.20 mm ID x 150.00 mm

6шт.

2

00135785

HOSE CLAMP

12шт.

3

87231730

VENT MANIFOLD

1шт.

4

VALVE hydraulic relief, refer to Figure B04[70A]

1шт.

5

87157000

TUBE

1шт.

6

86766001

TUBE

TUBE

1шт.

7

00152128

HOSE CLAMP

8шт.

8

86312272

HOSE,38.10 mm ID x 110.00 mm

4шт.

9

87235280

TUBE,38.10 mm OD

1шт.

10

00408396

ADAPTER

HOSETAIL

1шт.

11

86995100

PANEL

manifold

1шт.

12

86994800

TUBE,38.10 mm OD x 612, 38 mm L

manifold

1шт.

13

86310816

HYD CONNECTOR

ELBOW

1шт.

14

00408451

HYD CONNECTOR

ELBOW

1шт.

15

87232400

TUBE,38 mm DIA x 543 mm L

1шт.

16

87224408

HOSE

1шт.

17

00400237

HYD CONNECTOR

NIPPLE

1шт.

18

VALVE hydraulic relief, refer to Figure B04[65A]

1шт.

19

00180536

COOLER

oil

1шт.

20

87234729

TANK

1шт.

Выбрано товаров: 20