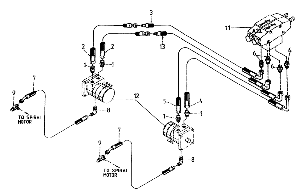
Запчасти Case IH 7700 (B05[95A]) - HYDRAULIC CIRCUIT {SIDETRIM KNIVES} Hydraulic Components & Circuits

Схема запчастей Case IH 7700 - (B05[95A]) - HYDRAULIC CIRCUIT {SIDETRIM KNIVES} Hydraulic Components & Circuits
9
7
1
1
7
1
4
9
2
3
5
12
8
8
6
6
6
13
2
1
11
FIT
1:1
100%

Артикул

Название

Примечание

Количество

1

00400228

HYD CONNECTOR

NIPPLE

4шт.

2

86308511

HOSE

HOSE

2шт.

3

87236691

HOSE

1шт.

4

87220515

HOSE

1шт.

5

82732900

HOSE ASSY.

1шт.

6

00400230

HYD CONNECTOR

NIPPLE

4шт.

7

87227380

HOSE

2шт.

8

00405242

HYD CONNECTOR

ELBOW

2шт.

9

00403925

TEE

2шт.

11

VALVE hydraulic, refer to Figure B04[00A]

1шт.

12

MOTOR hydraulic, refer to Figure B02[10A]

1шт.

13

87244033

HOSE

1шт.

Выбрано товаров: 12