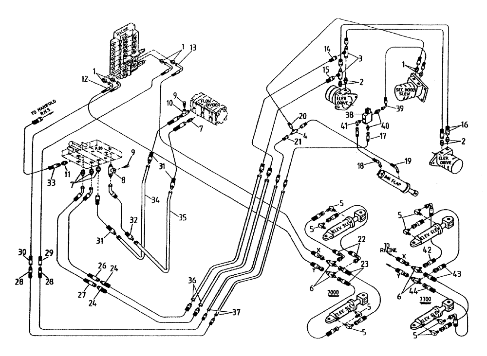
Запчасти Case IH 7700 (B06[00A]) - HYDRAULIC CIRCUIT {ELEVATOR} Hydraulic Components & Circuits

Схема запчастей Case IH 7700 - (B06[00A]) - HYDRAULIC CIRCUIT {ELEVATOR} Hydraulic Components & Circuits
21
15
28
7
9
34
40
33
5
38
39
2
44
14
17
19
1
3
5
2
20
5
16
18
30
5
11
26
4
5
31
23
42
1
8
27
28
24
9
29
43
22
37
24
10
6
7
1
35
32
41
31
6
36
FIT
1:1
100%

Артикул

Название

Примечание

Количество

1

00400074

HYD CONNECTOR

NIPPLE

6шт.

2

00400229

HYD CONNECTOR

NIPPLE

4шт.

3

00404678

TEE

2шт.

4

00400207

TEE

1шт.

5

00400189

HYD CONNECTOR

ELBOW

4шт.

6

00408873

TEE

TEE

2шт.

7

00400231

HYD CONNECTOR

NIPPLE

4шт.

8

87172100

TEE

1шт.

9

00405498

SCREW ON COUPLING

test point

2шт.

10

86314714

TEE

1шт.

11

00400234

HYD CONNECTOR

NIPPLE

1шт.

12

82760300

HOSE

Model 7000

1шт.

12

87229618

HOSE

Model 7700

1шт.

13

87169300

HOSE

HOSE, model 7000

1шт.

13

87229617

HYDRAULIC HOSE

Model 7700

1шт.

14

87235362

HOSE, elevator, standard

1шт.

14

87239110

HOSE, elevator, extended

1шт.

15

87235361

HOSE, elevator, standard

1шт.

15

87239109

HOSE, elevator, extended

1шт.

16

86301017

HYDRAULIC HOSE

2шт.

17

81674200

HOSE

1шт.

18

87226068

HOSE, elevator, standard

1шт.

18

86310648

HOSE

Extended elevator

1шт.

19

82702100

HOSE ASSY.

ELEVATOR, standard

1шт.

19

87231900

HOSE ASSY.

ELEVATOR, extended

1шт.

20

87237588

HOSE, elevator, standard

1шт.

20

81683100

HOSE,6.35mm ID x 1570mm L, SAE 100R1

Extended Elevator

1шт.

21

87237589

HOSE

1шт.

22

82742800

HOSE

2шт.

23

87229622

HOSE ASSY.

2шт.

24

87237586

HOSE

2шт.

26

87229420

HYDRAULIC HOSE

1шт.

27

87229419

HYDRAULIC HOSE

1шт.

28

87239108

HOSE

2шт.

29

87229421

HYDRAULIC HOSE

1шт.

30

87229422

HYDRAULIC HOSE

1шт.

31

87229428

HYDRAULIC HOSE

3шт.

32

87214770

HOSE

1шт.

33

87213346

HOSE

HOSE

1шт.

34

87229213

TUBE,19 mm OD

1шт.

35

87229217

TUBE,19 mm OD

1шт.

36

87233525

TUBE,755 mm L

2шт.

37

87233529

TUBE,3670 mm L

2шт.

38

VALVE hydraulic, solenoid, refer to Figure B04[80A]

1шт.

39

86313828

HOSE ASSY.

ELEVATOR, standard

1шт.

39

86331400

HOSE

HOSE, elevator, extended

1шт.

40

00400224

HYD CONNECTOR

NIPPLE

2шт.

41

00402475

HYD CONNECTOR

ELBOW

1шт.

42

82704100

HOSE

1шт.

43

87229623

HOSE

2шт.

44

86310227

HOSE ASSY.

1шт.

Выбрано товаров: 0