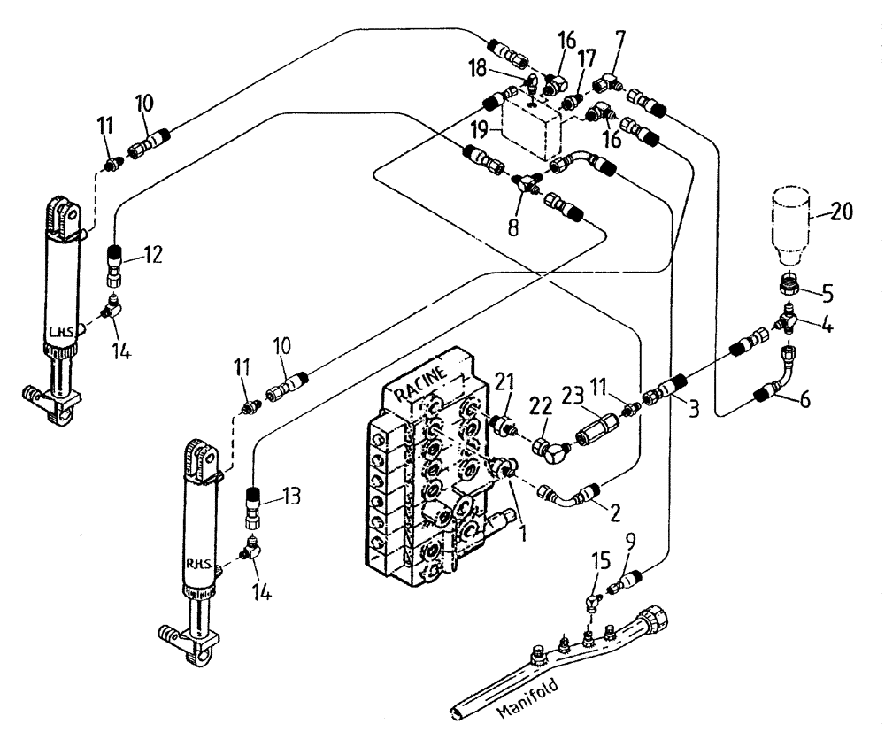
Запчасти Case IH 7700 (B06[40A]) - HYDRAULIC CIRCUIT {BASECUTTER LIFT ... WITH COUNTER-BALANCE VALVE} Hydraulic Components & Circuits

Схема запчастей Case IH 7700 - (B06[40A]) - HYDRAULIC CIRCUIT {BASECUTTER LIFT ... WITH COUNTER-BALANCE VALVE} Hydraulic Components & Circuits
8
4
6
20
21
5
18
17
19
14
7
11
16
10
16
3
13
14
2
15
9
12
22
23
11
11
10
1
FIT
1:1
100%

Артикул

Название

Примечание

Количество

1

00400073

HYD CONNECTOR

NIPPLE

2шт.

2

87234858

HOSE

1шт.

3

83125600

HOSE,9.53mm ID x 730mm L, SAE 100R17

HOSE

1шт.

4

00407925

TEE

1шт.

5

00407261

BUSHING

BUSH

1шт.

6

82735100

HOSE

1шт.

7

00405078

HYD CONNECTOR

ELBOW

1шт.

8

00408876

TEE

1шт.

9

87234378

HOSE,9.53mm ID x 1520mm L, SAE 100R17

HOSE

1шт.

10

82719300

HOSE

1шт.

11

00400165

HYD CONNECTOR

NIPPLE

3шт.

12

82748500

HOSE ASSY.

2шт.

13

82747600

HOSE

1шт.

14

00400192

HYD CONNECTOR

ELBOW

2шт.

15

00402879

HYD CONNECTOR

ELBOW

1шт.

16

00400240

HYD CONNECTOR

ELBOW

2шт.

17

00400093

HYD CONNECTOR

NIPPLE

1шт.

18

00400238

HYD CONNECTOR

ELBOW

1шт.

19

VALVE hydraulic, counter-balance, refer to Figure B04[95A]

1шт.

20

ACCUMULATOR, refer to Figure B04[99A]

1шт.

21

00400228

HYD CONNECTOR

NIPPLE

1шт.

22

86312389

HYD CONNECTOR

ELBOW

1шт.

23

87236579

VALVE, CHECK

CHECK valve

1шт.

Выбрано товаров: 23