Запчасти Case IH 7700 (A02[45A]) - FINNED ROLLER UNDERSLUNG BASECUTTER Mainframe & Functioning Components

Схема запчастей Case IH 7700 - (A02[45A]) - FINNED ROLLER UNDERSLUNG BASECUTTER Mainframe & Functioning Components
6
18
5
12
14
9
19
20
21
2
13
11
3
8
15
4
1
22
17
10
7
FIT
1:1
100%

Артикул

Название

Примечание

Количество

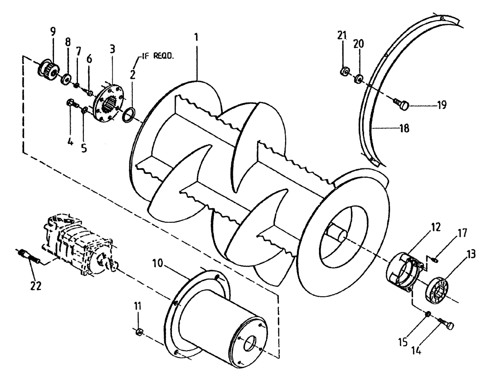
1

87229528

ROLLER,880mm L

1шт.

2

86701900

SPACER,52mm ID x 63mm OD x 5mm L

if required

1шт.

3

87234546

ADAPTER

1шт.

4

FM112025

BOLT

8шт.

5

WB120000

WASHER

8шт.

6

00601499

BOLT

1шт.

7

00605827

WASHER

1шт.

8

86778400

WASHER,10.5mm ID x 38.5mm OD x 5.15mm Thk

WASHER

1шт.

9

87213220

GEAR

pinion

1шт.

10

87240790

HOUSING

1шт.

11

00605797

NUT

4шт.

12

87213555

HOUSING, BEARING,87 mm ID x 62 mm

1шт.

13

00140493

BEARING

1шт.

14

00601511

BOLT

4шт.

15

00605829

WASHER

4шт.

17

00153751

LUBE NIPPLE

grease

1шт.

18

87217359

FRAME

BAFFLE

2шт.

19

00605372

SCREW

6шт.

20

00605826

WASHER

6шт.

21

00605794

NUT

6шт.

22

00604538

SCREW

4шт.

Выбрано товаров: 0