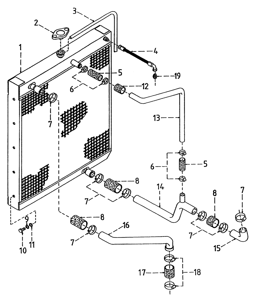
Запчасти Case IH 7700 (C02[15A]) - WATER RADIATOR {6CT} Engine & Engine Attachments

Схема запчастей Case IH 7700 - (C02[15A]) - WATER RADIATOR {6CT} Engine & Engine Attachments
13
10
1
8
7
3
5
12
9
4
7
17
14
16
15
8
7
5
8
6
11
7
2
7
18
6
19
FIT
1:1
100%

Артикул

Название

Примечание

Количество

1

86690900

COOLER

RADIATOR

1шт.

2

00139787

RADIATOR CAP

1шт.

3

86308718

TUBE

1шт.

3

00132583

CLIP

3шт.

4

86302756

HOSE ASSY.

1шт.

5

86311310

HOSE,25.40 mm ID x 76.00 mm

2шт.

6

00152127

HOSE CLAMP

4шт.

7

00180541

HOSE CLAMP

7шт.

8

83117600

HOSE,50.8mm ID x 100mm L

3шт.

9

00605827

WASHER

10шт.

10

00601495

BOLT

10шт.

11

00608041

WASHER

10шт.

12

87213418

HOSE,25.4mm ID x 100mm L

PROTECTOR

1шт.

13

87220234

PIPE

TUBE

1шт.

14

87220236

PIPE,51 mm OD

TUBE

1шт.

15

87235744

TUBE,2" OD

1шт.

16

87220233

TUBE

1шт.

17

87207700

RADIATOR HOSE

1шт.

18

00180450

CLAMP

2шт.

Выбрано товаров: 19