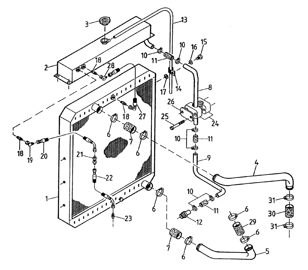
Запчасти Case IH 7700 (C02[25A]) - WATER RADIATOR {L10} Engine & Engine Attachments

Схема запчастей Case IH 7700 - (C02[25A]) - WATER RADIATOR {L10} Engine & Engine Attachments
18
12
4
25
7
15
7
30
27
13
19
14
9
24
11
10
17
26
20
8
3
22
28
6
11
31
5
6
31
2
6
6
21
29
11
6
10
10
10
18
6
18
1
16
23
FIT
1:1
100%

Артикул

Название

Примечание

Количество

1

00408491

COOLER

RADIATOR

1шт.

2

87233367

COOLER

TANK

1шт.

3

00180923

RADIATOR CAP

1шт.

4

87233630

PIPE

TUBE

1шт.

5

87233631

PIPE,63.50 mm OD x 610 mm L

TUBE

1шт.

6

00180629

HOSE CLAMP

6шт.

7

82349500

HOSE,57.2mm ID x 100mm L, SAE 20R1

2шт.

8

87233975

TUBE,21.40 mm ID x 25.40 mm OD

1шт.

9

87233976

TUBE

1шт.

10

00152127

HOSE CLAMP

6шт.

11

86311778

HOSE,3.75"

3шт.

12

00408538

HYD CONNECTOR

NIPPLE

1шт.

13

86308718

TUBE

1шт.

14

00132583

CLIP

4шт.

15

FA108025

BOLT

8шт.

16

WB080000

WASHER

8шт.

17

WA080000

WASHER

8шт.

18

00400162

HYD CONNECTOR

NIPPLE

3шт.

19

00405173

HYD CONNECTOR

ELBOW

1шт.

20

87225600

HOSE

1шт.

21

00400070

HYD CONNECTOR

NIPPLE

1шт.

22

82751300

HOSE

1шт.

23

00400160

HYD CONNECTOR

NIPPLE

1шт.

24

00405070

CLAMP

CLAMP

1шт.

25

FA106045

BOLT

2шт.

26

00405216

COVER

PLATE

1шт.

27

87219128

HOSE

1шт.

28

00402879

HYD CONNECTOR

ELBOW

1шт.

29

87242726

HOSE,63.50 mm ID x 110.00 mm, SAE J20R1

1шт.

30

84016500

HOSE,57.15 mm ID x 76.00 mm, SAE J20R1

1шт.

31

00180450

CLAMP

2шт.

Выбрано товаров: 31