Запчасти Case IH 7700 (A04[15A]) - EPICYCLIC HUB, SERIES 60 39:1 Mainframe & Functioning Components

Схема запчастей Case IH 7700 - (A04[15A]) - EPICYCLIC HUB, SERIES 60 39:1 Mainframe & Functioning Components
14
30
12
37
46
23
24
15
35
27
34
28
32
43
26
7
5
38
4
29
17
36
19
13
21
39
2
40
11
8
9
16
6
10
42
41
33
44
18
25
31
3
45
20
1
22
FIT
1:1
100%

Артикул

Название

Примечание

Количество

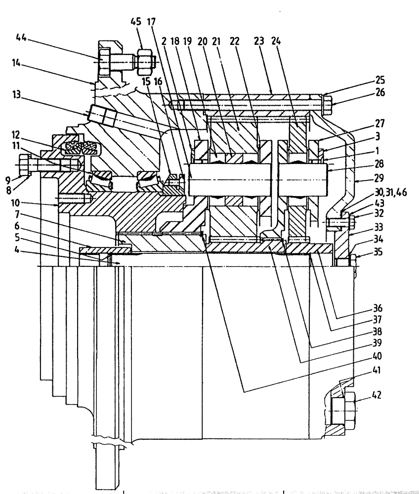
1

00605395

SCREW

6шт.

2

86901300

PLATE

keeper, secondary

3шт.

3

86309567

PLATE

keeper, primary

3шт.

4

86376600

SHAFT

input

1шт.

5

CI028000

CIRCLIP

1шт.

6

86312250

SPLINED COUPLING,14T

1шт.

7

86624900

SPLINED COUPLING

1шт.

8

00131382

WASHER

16шт.

9

00601603

BOLT

16шт.

10

87213860

STUB AXLE/STEERING S

1шт.

11

00146557

BEARING

2шт.

12

00131826

OIL SEAL

1шт.

13

00605620

PLUG

1шт.

14

86624500

HYDRAULIC MOTOR

HUB

1шт.

87349714R

REMAN-HYD MOTOR

7700 (FLORIDA) 1/95-12/95

1шт.

87349714C

CORE-MOTOR HYDRAULIC

Return Number

1шт.

87349714R

REMAN-HYD MOTOR

7000, 1/95-12/95,

1шт.

87349714C

CORE-MOTOR HYDRAULIC

Return Number

1шт.

15

86306728

LOCK NUT

LOCK

1шт.

16

00605380

SCREW

2шт.

17

86901200

PIN,38.46mm OD x 98.5mm L

secondary

3шт.

18

86372400

HUB CARRIER

planet, secondary

1шт.

19

00141546

BEARING

roller

117шт.

20

86377000

SPACER

3шт.

21

86376700

PLANETARY GEAR

secondary

3шт.

22

81235800

WASHER

thrust

12шт.

23

86372000

RING GEAR

1шт.

24

86376800

PLANETARY GEAR

primary

3шт.

25

00606112

ASSEMBLY

WASHER

12шт.

26

00607097

BOLT

12шт.

27

86372200

HUB CARRIER

planet, primary

1шт.

28

81234900

PIN,38.45mm OD x 57.15mm L

primary

3шт.

29

86376100

COVER ASSY

1шт.

30

86377500

SHIM,85mm ID x 130mm OD x 0.38mm Thk

white

1шт.

31

86377600

SHIM,85mm ID x 130mm OD x 0.76mm Thk

maroon

1шт.

32

00601499

BOLT

4шт.

33

86356400

PLUG

COVER

1шт.

34

00133193

WASHER

1шт.

35

82146000

PLUG,3/4" - 16

1шт.

36

86376400

GEAR

pinion

1шт.

37

CI032000

CIRCLIP

1шт.

38

CE062000

CIRCLIP

1шт.

39

86376500

GEAR

pinion

1шт.

40

00140052

CIRCLIP

1шт.

41

00100021

O-RING

1шт.

42

86377100

PLUG

1шт.

43

00605808

WASHER

WASHER

4шт.

44

00136030

BOLT

10шт.

45

00136031

NUT

10шт.

46

87242649

SHIM,86mm ID x 128mm OD x 2mm Thk

2.0 mm

1шт.

47

87115100

HUB ASSY.

1шт.

Выбрано товаров: 0