Запчасти Case IH 7700 (A04[20A]) - FAIL SAFE BRAKE Mainframe & Functioning Components

Схема запчастей Case IH 7700 - (A04[20A]) - FAIL SAFE BRAKE Mainframe & Functioning Components
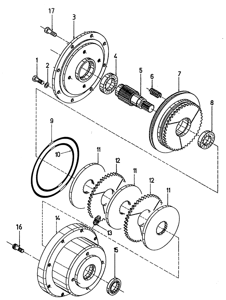
1
9
15
11
13
16
8
12
10
4
14
5
11
11
7
6
12
17
2
3
FIT
1:1
100%

Артикул

Название

Примечание

Количество

1

00601506

BOLT

8шт.

2

00605829

WASHER

8шт.

3

86308776

COVER ASSY

1шт.

4

00144071

BALL BEARING

1шт.

5

86308773

SHAFT

1шт.

6

00130063

SPRING

10шт.

7

86308778

PISTON

1шт.

8

00140263

BALL BEARING

1шт.

9

00103010

O-RING

1шт.

10

00103009

O-RING

1шт.

11

86308782

BRAKE DISC,53.34mm ID x 179mm OD x 7.05mm Thk

3шт.

12

86308780

GEAR,44T

2шт.

13

00132629

SCREW

bleeder

1шт.

14

86308774

BODY

1шт.

15

00100691

OIL SEAL

1шт.

16

00604550

CAPSCREW

4шт.

17

00601511

BOLT

4шт.

18

86308824

BRAKE

ASSEMBLY

1шт.

Выбрано товаров: 18