Запчасти Case IH 7700 (C04[05A]) - ENGINE MOUNTS {125} Engine & Engine Attachments

Схема запчастей Case IH 7700 - (C04[05A]) - ENGINE MOUNTS {125} Engine & Engine Attachments
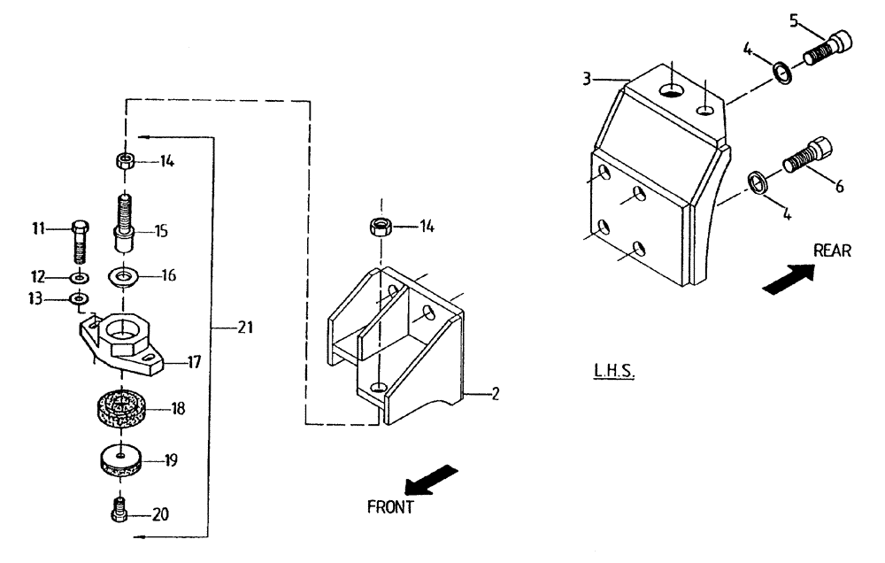
2
3
4
18
14
21
12
11
17
14
19
4
15
13
16
20
5
6
FIT
1:1
100%

Артикул

Название

Примечание

Количество

2

87238057

ENGINE MOUNT

MOUNT, L.H., front

1шт.

3

87238058

ENGINE MOUNT

MOUNT, L.H., rear

1шт.

4

WB160000

SPRING WASHER

8шт.

5

FC116040

BOLT,M16 x 2 x 40mm

SCREW cap

2шт.

6

FM116040

BOLT

6шт.

11

00608166

BOLT

6шт.

12

00605829

WASHER

6шт.

13

00605810

WASHER

6шт.

14

00606250

NUT

6шт.

15

87217397

PIN,19.05mm OD x 95mm L

3шт.

16

87217400

WASHER

3шт.

17

87217410

HOUSING

3шт.

18

87217403

DISC

3шт.

19

87217402

WASHER

3шт.

20

00606755

BOLT

3шт.

21

87217404

MOUNTING PARTS

ASSEMBLY

3шт.

Выбрано товаров: 16