Запчасти Case IH 7700 (B00[20A]) - HYDRAULIC PUMPS Hydraulic Components & Circuits

Схема запчастей Case IH 7700 - (B00[20A]) - HYDRAULIC PUMPS Hydraulic Components & Circuits
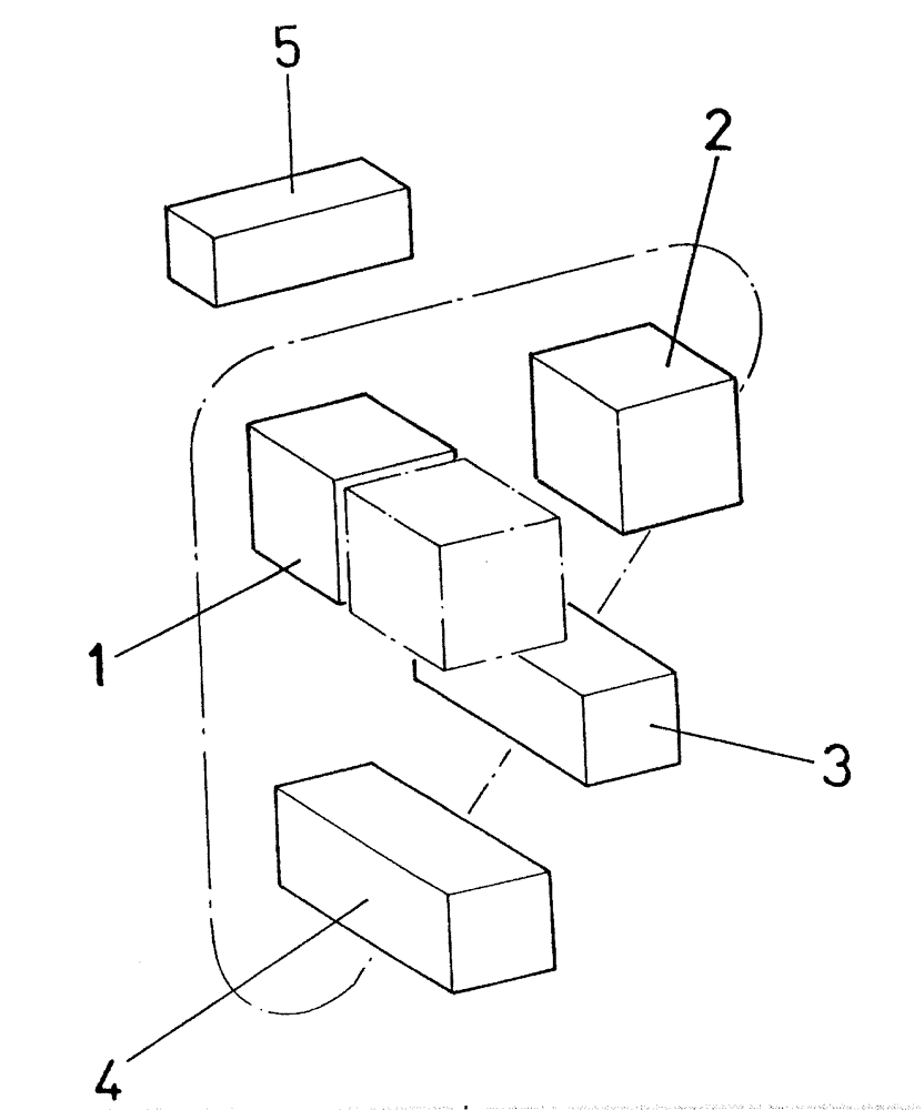
2
4
3
5
1
FIT
1:1
100%

Артикул

Название

Примечание

Количество

1

PUMP hydraulic, standard transmission, refer to Figures B03[00A]

1шт.

1a

PUMP hydraulic, tandem transmission, refer to Figures B03[05A] and B03[06A]

1шт.

2

PUMP hydraulic, standard transmission, refer to Figure B03[00A]

1шт.

3

PUMP hydraulic, 108 2 blade chopper and primary fixed extractor, refer to Figure B03[25A]

1шт.

3a

PUMP hydraulic, 108 2 blade chopper and primary variable extractor, refer to Figure B03[30A]

1шт.

3b

PUMP hydraulic, 125/6CT/L10 2 blade chopper and primary fixed extractor, refer to Figure B03[35A]

1шт.

3c

PUMP hydraulic, 125/6CT/L10 2 blade chopper and primary variable extractor, refer to Figure B03[40A]

1шт.

3d

PUMP hydraulic, 108 3 blade chopper and primary fixed extractor, refer to Figure B03[45A]

1шт.

3e

PUMP hydraulic, 108 3 blade chopper and primary variable extractor, refer to Figure B03[50A]

1шт.

3f

PUMP hydraulic, 125/6CT/L10 3 blade chopper and primary fixd extractor, refer to Figure B03[55A

1шт.

3g

PUMP hydraulic, 125/6CT/L10 3 blade chopper and primary variable extractor, refer to Figure B03[60A]

1шт.

3h

PUMP hydraulic, Hagglunds, 125/L10/3306 2/3 blade choppers and primary variable extractor, refer to Figure B03[65A]

1шт.

4

PUMP hydraulic, basecutter, refer to Figure B03[20A]

1шт.

4a

PUMP hydraulic, Hagglunds, 125/L10/3306 basecutter, refer to Figure B03[70A]

1шт.

5

DIVIDER, flow, refer to Figure B03[75A]

1шт.

Выбрано товаров: 15