Запчасти Case IH 7700 (B00[30A]) - HYDRAULIC VALVES Hydraulic Components & Circuits

Схема запчастей Case IH 7700 - (B00[30A]) - HYDRAULIC VALVES Hydraulic Components & Circuits
12
6
13
18
16
2
4
1
19
15
3
10
11
17
14
7
8
9
16
16
5
FIT
1:1
100%

Артикул

Название

Примечание

Количество

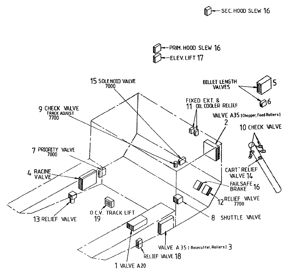
1

VALVE hydraulic, refer to Figure B04[00A]

1шт.

2

VALVE hydraulic, refer to Figure B04[10A]

1шт.

3

VALVE hydraulic, refer to Figure B04[15A]

1шт.

4

VALVE hydraulic, racine, refer to Figure B04[20A]

1шт.

5

VALVE hydraulic, selector, refer to Figure B04[25A]

1шт.

6

VALVE hydraulic, solenoid, refer to Figure B04[30A]

1шт.

7

VALVE hydraulic, priority, refer to Figure B04[35A]

1шт.

8

VALVE hydraulic, shuttle, refer to Figure B04[40A]

1шт.

9

VALVE hydraulic, check, refer to Figure B04[45A]

1шт.

10

VALVE hydraulic, check, refer to Figure B04[50A]

1шт.

11

VALVE hydraulic, solenoid, relief, refer to Figure B04[55A]

1шт.

12

VALVE hydraulic, relief, refer to Figure B04[60A]

1шт.

13

VALVE hydraulic, relief, refer to Figure B04[65A]

1шт.

14

VALVE hydraulic, relief, refer to Figure B04[70A]

1шт.

15

VALVE hydraulic, solenoid, refer to Figure B04[75A]

1шт.

16

VALVE hydraulic, solenoid, refer to Figure B04[80A]

1шт.

17

VALVE hydraulic, relief, refer to Figure B04[85A]

1шт.

18

VALVE hydraulic, dump relief, refer to Figure B04[90A]

1шт.

19

VALVE hydraulic, counter-balance, refer to Figure B04[95A]

1шт.

Выбрано товаров: 19